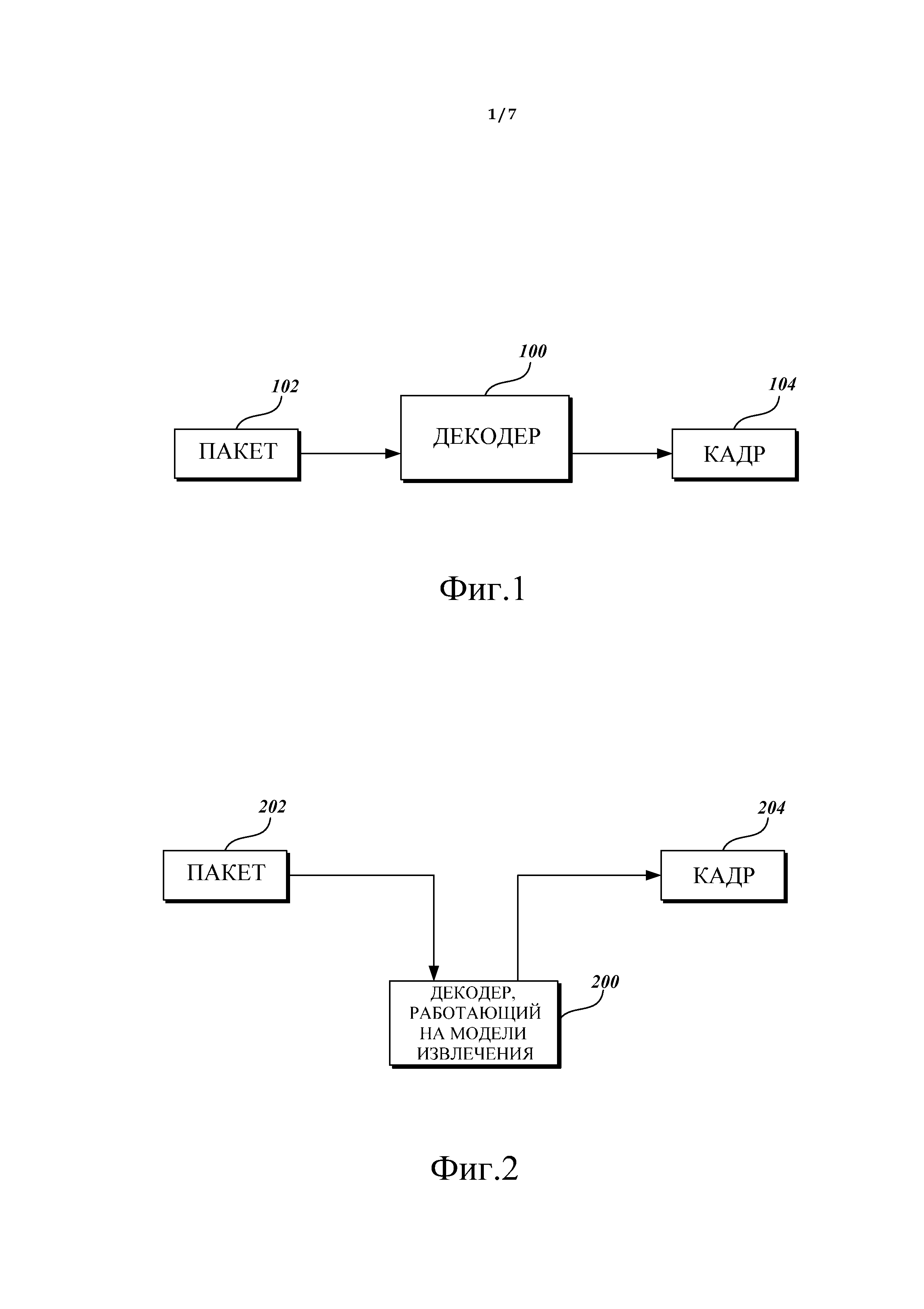
Работа декодера
Работа декодера 97 фото
Боль при глотании и жевании
7 м ч м 28
Светофор 120 магазин
Формулы 6 класс виленкин
Грузчик на 1 день
К приходным кассовым документам относится
Гидроаккумулятор джамбо 60 35
Макс и три девушки
Служба на петре великом
Как делают глубокое бикини видео лазерная































































































