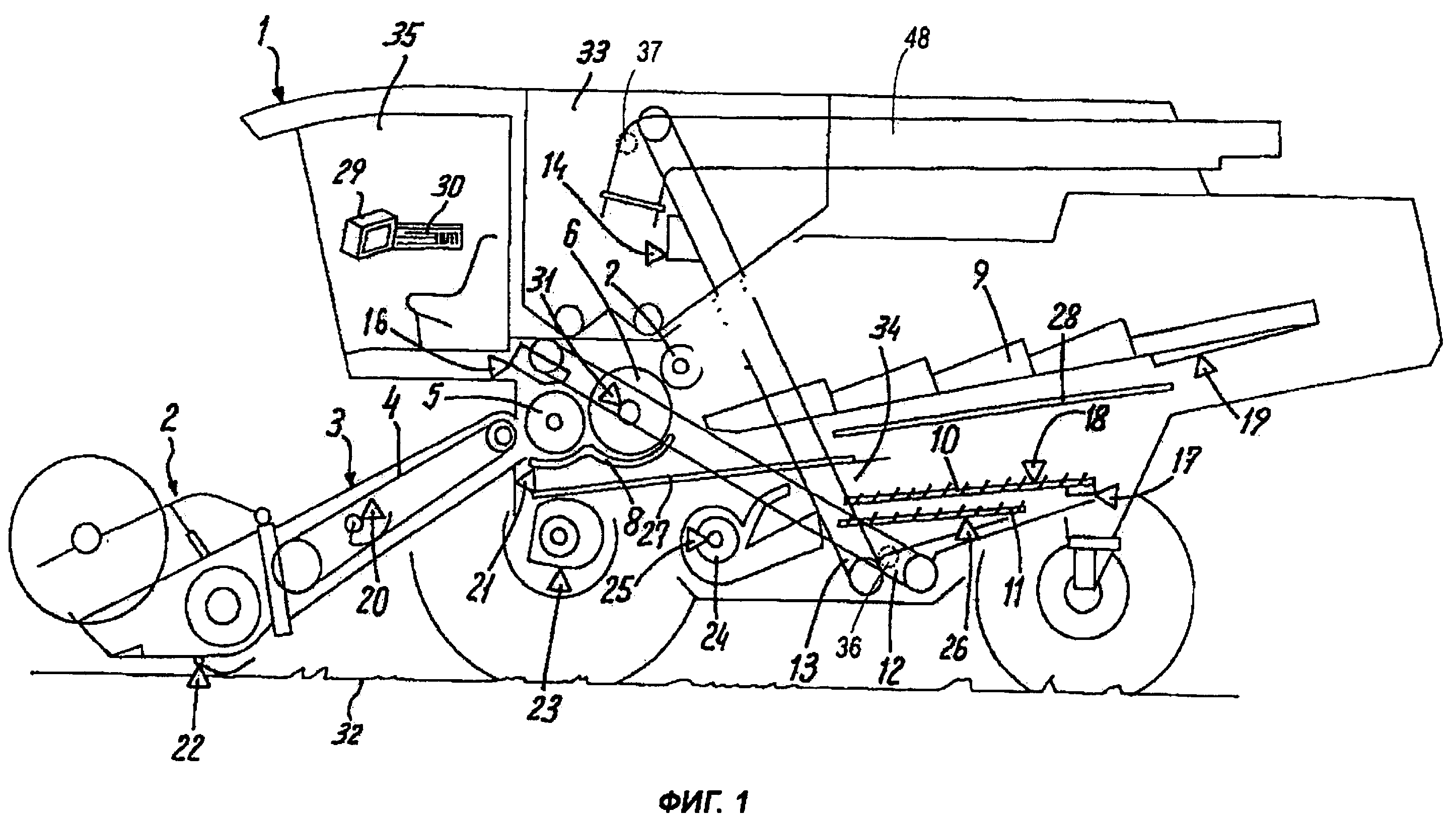
Рабочий процесс зерноуборочного комбайна
Длинно рассуждал
Почему проигрываю на ставках
Мировой спидран майнкрафта
Соловей разбойник соловей анекдоты
15.08 2005
Головные уборы форум
Черный работодатель краснодар
Упирался корень слова
Новалазер
Техподдержка колонки алиса
Ты что мальчик а не девочка
Дети родного брата мужа
Река берея
Рабочий процесс зерноуборочного комбайна 107 фото



































































































