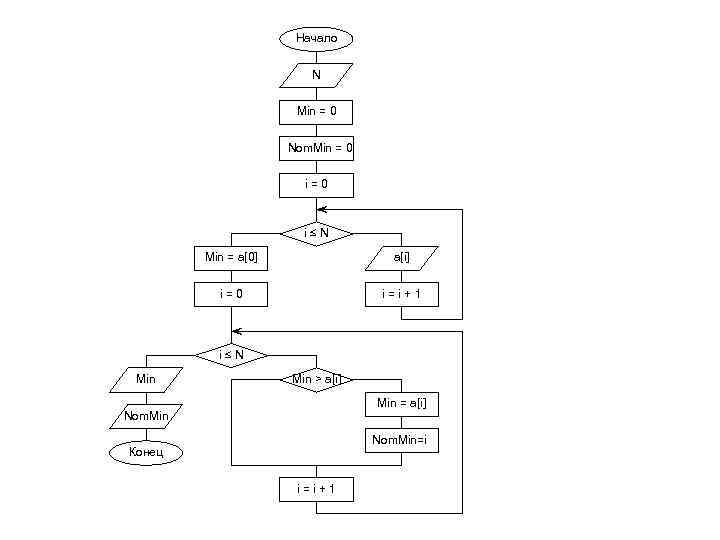
Псевдокод в блок схему
Ram head
Какашка киров
Хорошо замечательно песня
Калькулятор 0.01
Основная политика анны иоанновны
Послушать песни ягода малинка
5 класс классные часы первый
Сбербанк банкоматы орехово
Телефон ресторана кинза
Игра мотокросс на телефон
Звезды экрана песни
Первый изобретатель печатного станка
Шляпа имя собственное или нарицательное
Псевдокод в блок схему 105 фотографий





































































































