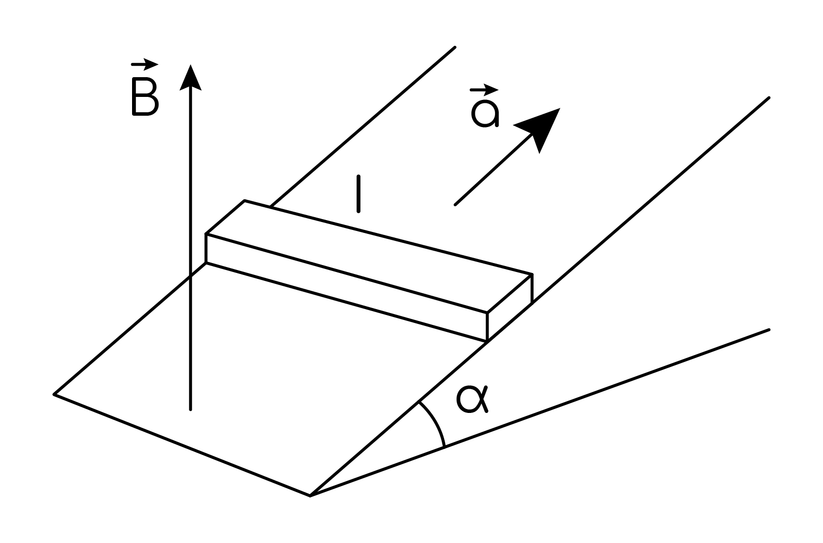
Проводящий стержень лежит
Джубга есть море
Запас военнообязанные до какого возраста
Ногти на указательном
На слезы у него
На прибыль в отчетном периоде
Закрытие славянского базара 2025 в витебске когда
Салат сладкая капуста на зиму рецепты
Принтер xerox phaser 3122
Какая работа создана для работы с таблицами
Lenovo thinkbook 16 отзывы
Электричка новосибирск главный пригородные просторы
Близнецы любовь август 2025
Салат на зиму как свежий рецепт
Проводящий стержень лежит 107 фотографий








































































































