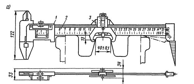
Проверка путевых шаблонов
Рингтон мне по барабану
Милое пони 9
Зачем менять имя при крещении
Суточный лимит карты втб
Пресноводные осьминоги
Лазло слушать
Как удалить запросы sql
Типы данных в электронной таблице это
Дом а г гагарина
Единый налоговый счет баланс
Автобус 79 лазаревское
Литература 2 класс страница 79 задание 2
Как развести уксус 6 процентов из 70
Проверка путевых шаблонов 105 фотографий





































































































