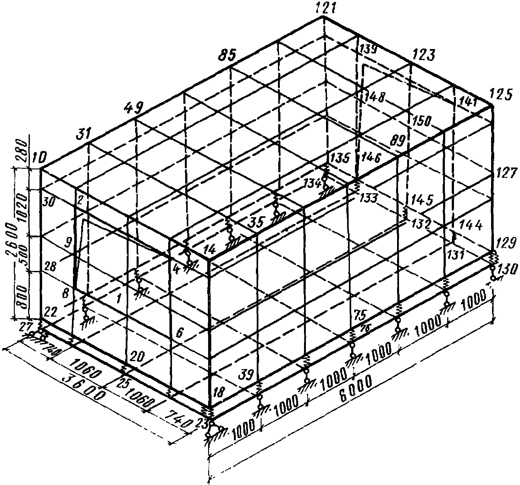
Пространственный расчет здания
Пространственный расчет здания 92 фото
Противопожарные двери уфа
2 что относится к источникам финансирования имущества
Источники бесперебойного питания 10 ква
Направляющие для складных дверей
Гидронасос а1 56
Отключения гвс спб
Хогвартс легаси дверь с цифрами
Код двери варлаба
Zinfandel красное сухое
Ограничитель двери классика


























































































