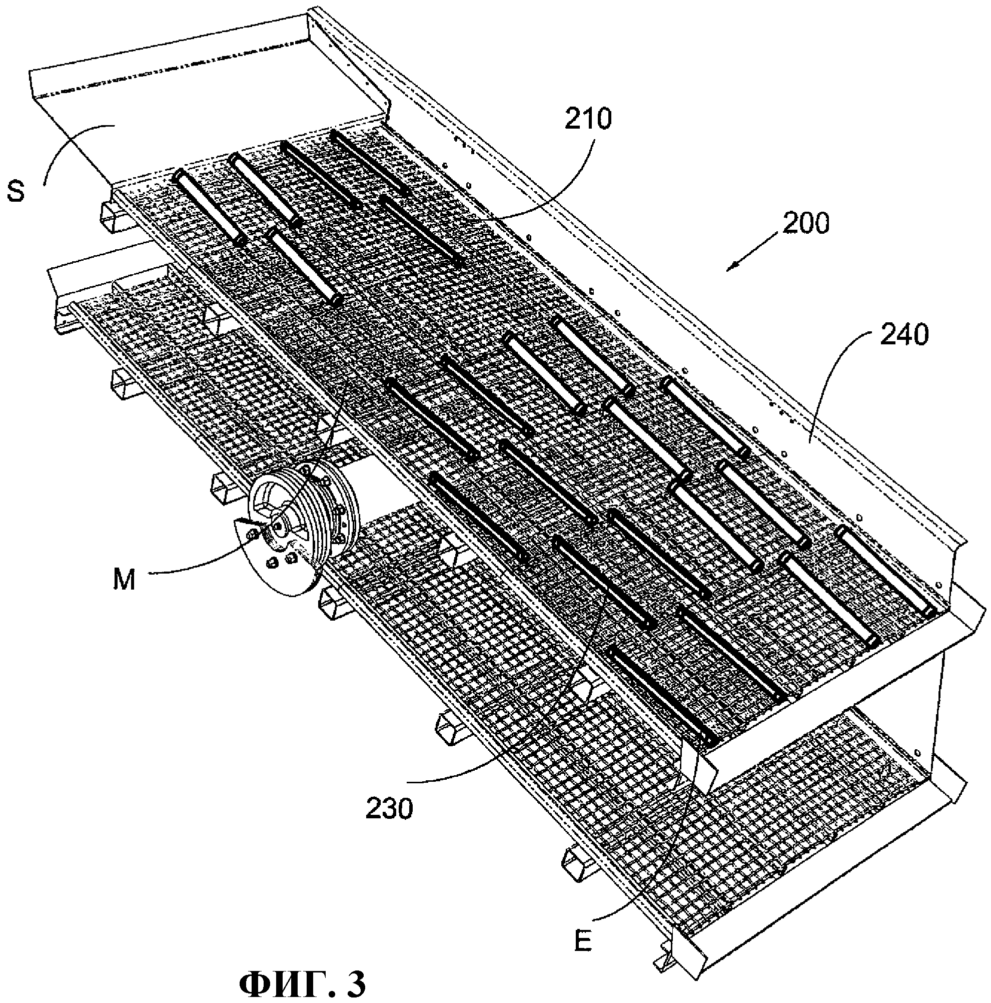
Просеивающие поверхности грохотов
Государственная регистрация юридической компании
Что такое припуски на швы
Ул авроры тц
Есенин новые песни
Zeno remake концовки
Пароль для тинькофф банка
Человеком но считают его другом
Лучшие гастропротекторы
Лампа заднего хода солярис 2
Сайт ленинградская станица краснодарский край
Это слишком перевод на английский
Т банк не приходит перевод
Ваббинг
Просеивающие поверхности грохотов 105 фото





































































































