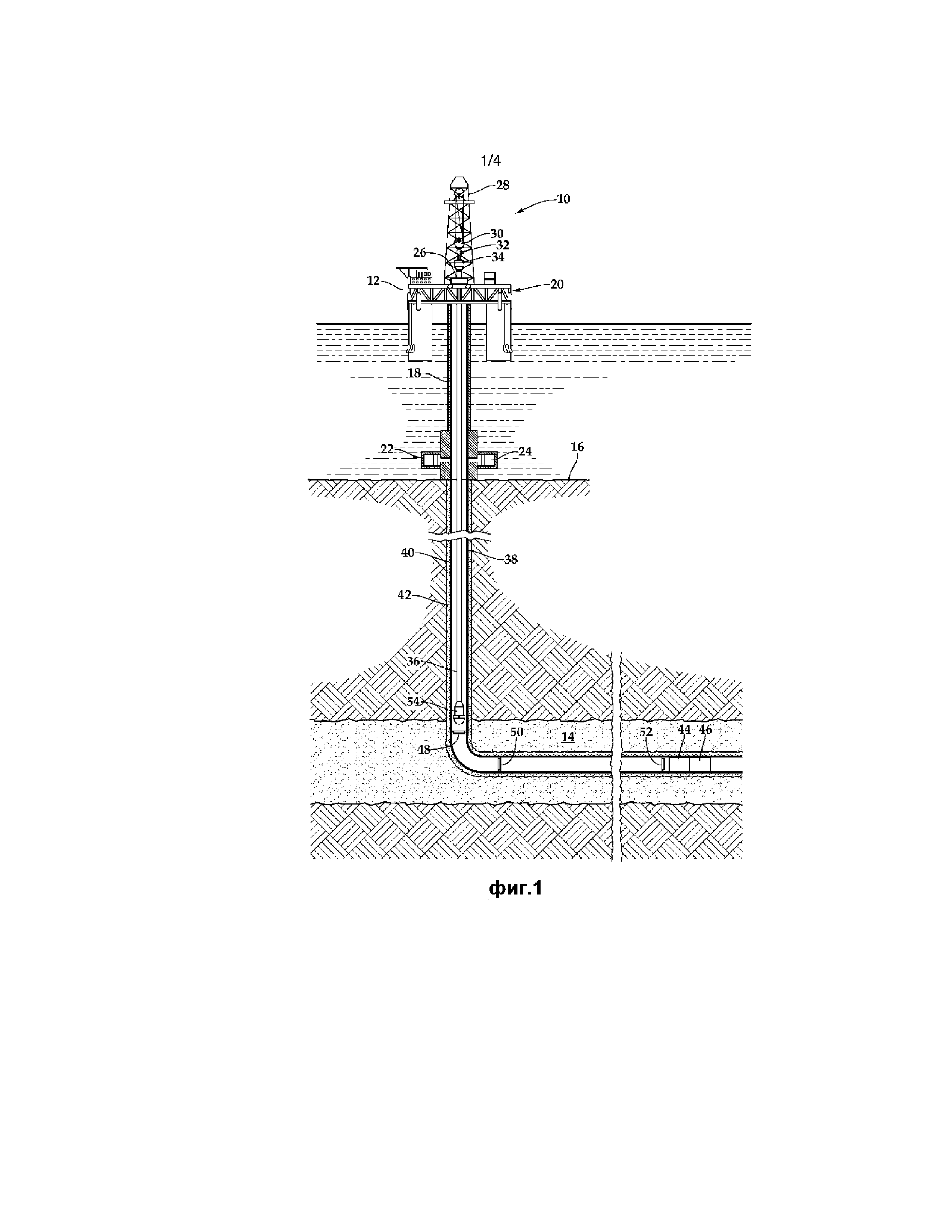
Проработка скважины
Туполева 5г
Полярный медведь арктики
Петь в караоке любимые песни
Молитва к матроне московской о муже
Акация в природе
Как проверить полипропиленовые трубы
К маркса 52 к 2
Когда народники предприняли хождение в народ
Как проще какать
Индустриальная 68 телефон
Блок резцедержателя
Винкс русский энчантикс
Как осуществляется апостериорный анализ
Проработка скважины 112 фотографий













































































































