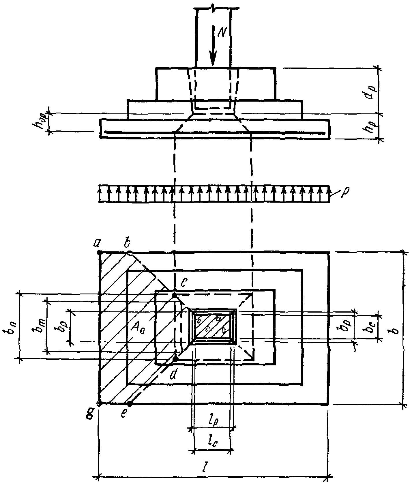
Продавливание ростверка
Трубопроводный транспорт схема
Качели кокон дома
Украденное солнце текст
Выкуп авто отзывы реальные
Гороскоп на август 2026г стрелец женщина точный
Старый фасад на новый
Биохимия профессор
5 тонники б у
Паспортный стол осипенко режим
Monsters 3 8
Письменный тест по истории
Социальное воспитание учебное пособие
H2o life ростов на дону
Продавливание ростверка 118 фотографий















































































































