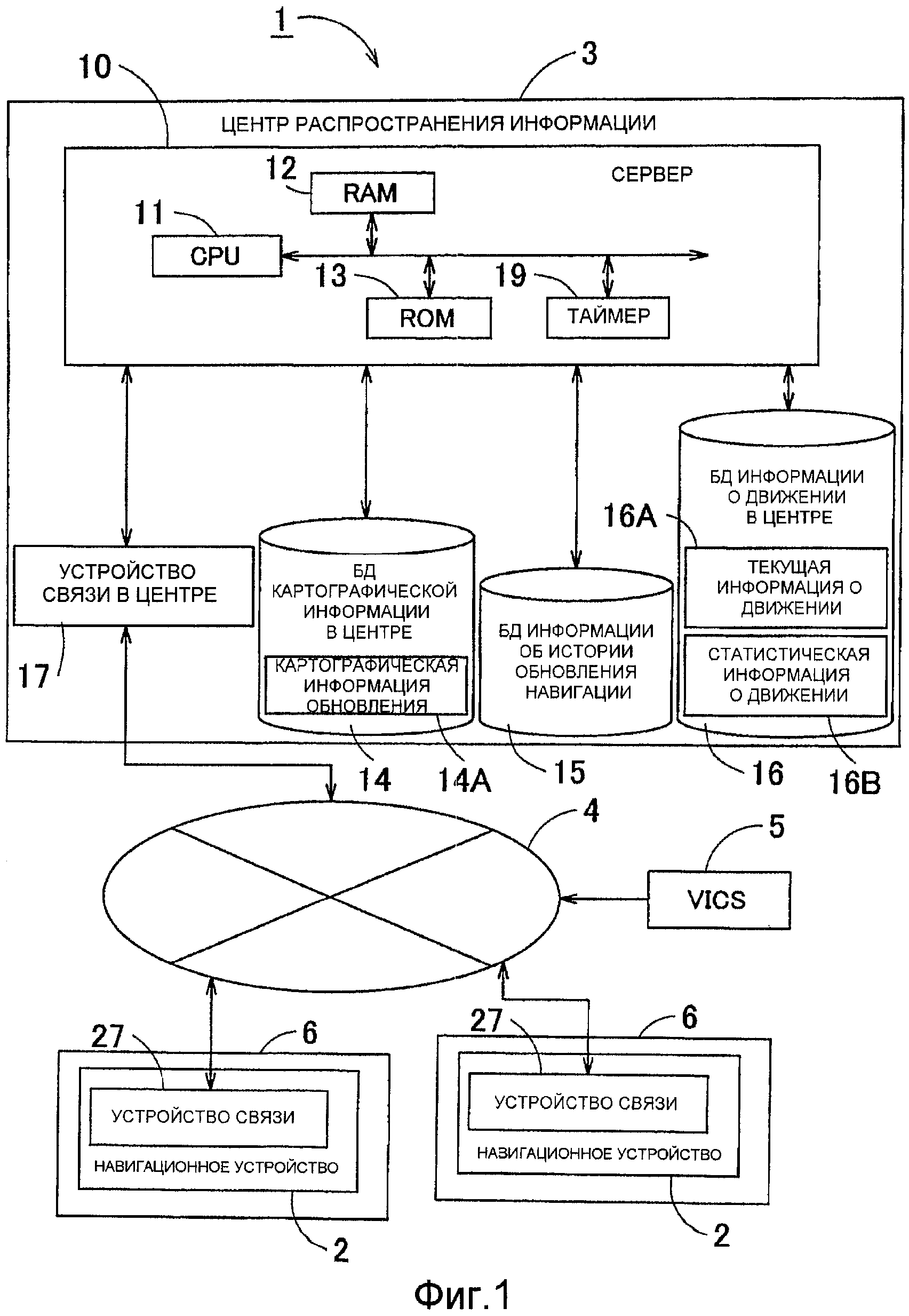
Процесс распространения информации с помощью технических средств
Худи неллето
Чужих мужей не бывает киров
Куртки кожаные мужские из натуральной кожи турция
Кс маркет кейсы
Телевизор не видит hdmi от ноутбука
Я пьяна настя
Какую книгу прочитать в 3 классе
Февраль это какой месяц в году
Показатели ликвидности задолженности
Гага бад романс
Какую крупу можно не варить
Little jay
Электрические конфорки для стеклокерамики
Процесс распространения информации с помощью технических средств 112 фото











































































































