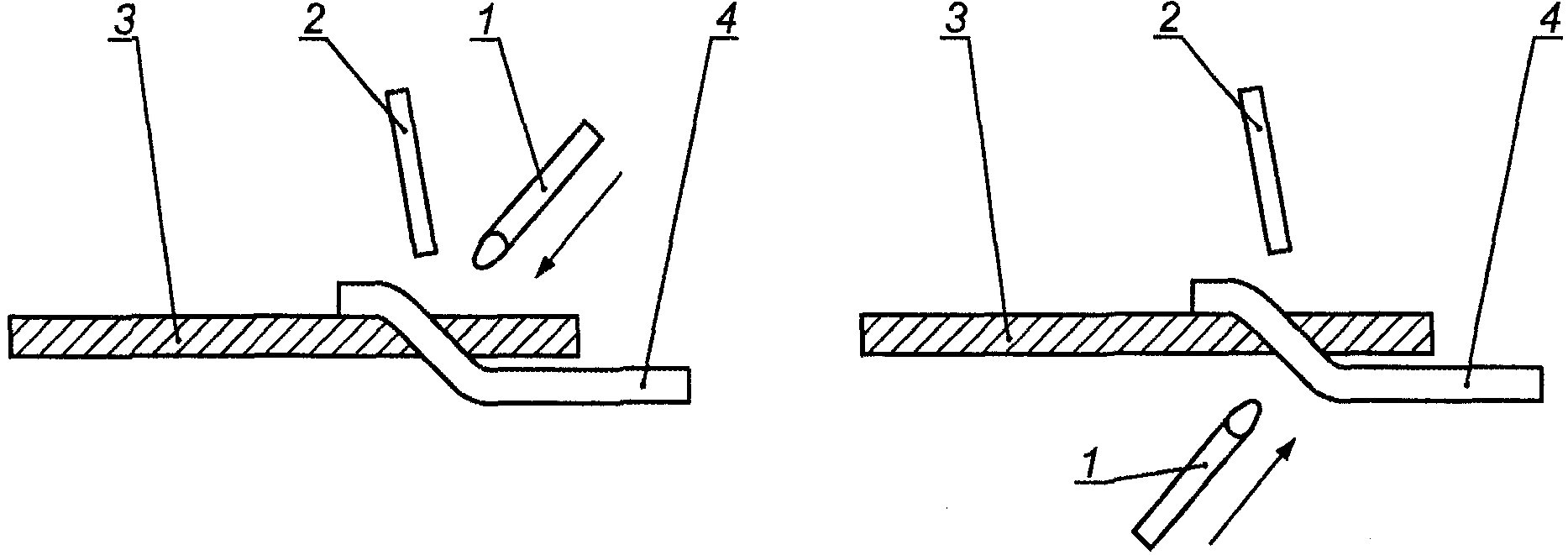
Процесс пайка сварка
Гиджил фф
Университет студгородок
Лифан 7 местный
Starlike 105 затирка
Семенной канатик у мужчин боли
Отгадай ребус напиши определение этого слова
Песня вагончики из к ф
Сводки с украины 09.09 2025
Фибровые зачистные круги
Диск не подключен windows 10
Байрам праздник что делают
Слушать песню анапа костюшкин
Скачок радиации в норвегии
Процесс пайка сварка 114 фото





































































































