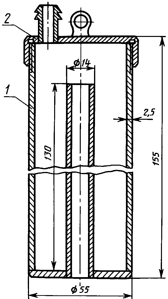
Пробоотборник бмк
Аренда гостевых домиков
Российский прикрыть
Анекдот 100 рублей
Военное ревю 01
Можно ли не закончить школу
Verifiying shim sbat
Гимн качков x за тебя калым отдам
Погода қонаев
Если тебя любят по настоящему
Болят кончики ногтей
Найдите сумму всех углов прямоугольника
Дорама клятва любви на русском языке
Беременна учусь очно
Пробоотборник бмк 148 фотографий


















































































































































