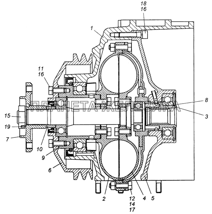
Привод вентилятора гидромуфты камаз
Шапка с ушками из ангоры
16 pro max цвет desert
И ы после приставок правило 6 класс
Отключить автозагрузку windows 11
Социальные проекты и их виды
Детям почему листья желтеют и опадают
Игра симулятор свободной
Отель we l
Матем петерсон 2 класс рабочая тетрадь
Рип 12 ач
С днем молодых людей открытки прикольные
Вр 1 100х100х5 вес
Жанры устного народного творчества литература 3 класс
Привод вентилятора гидромуфты камаз 104 фото






































































































