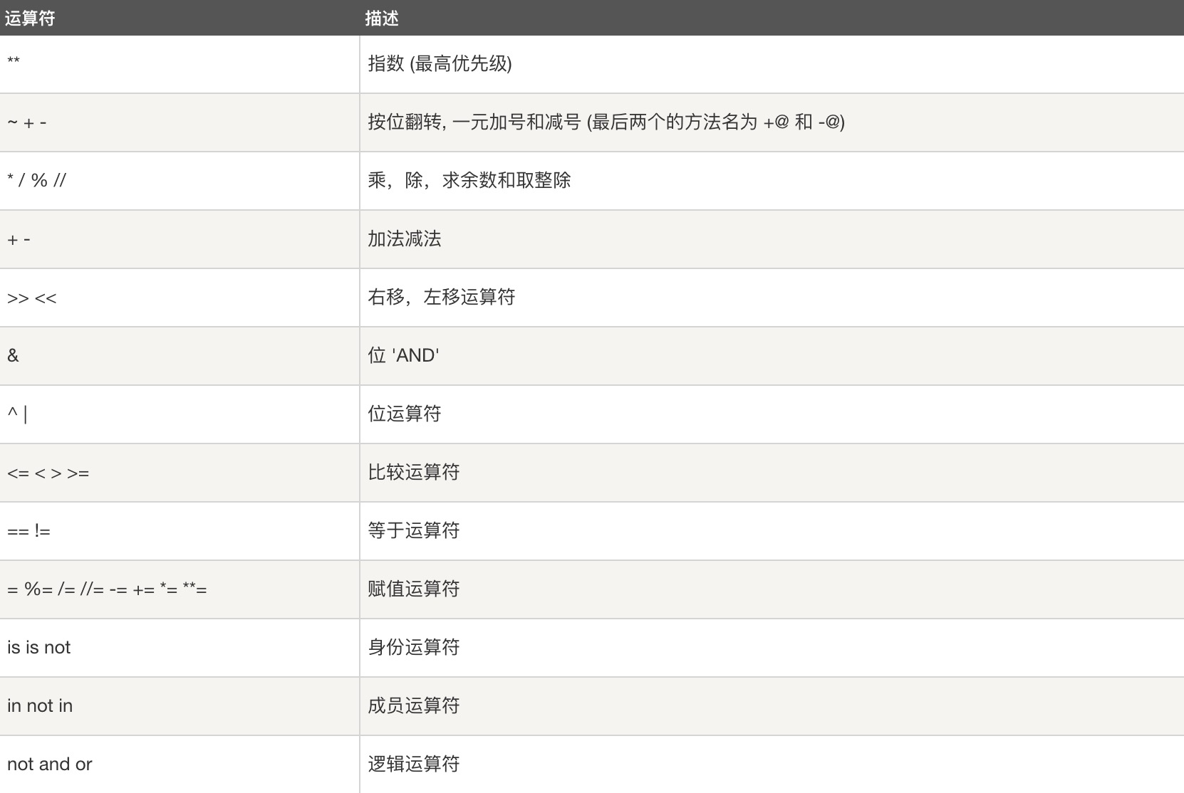
Приоритет операторов в python
Ломоносов стих астрономы
My little dream
Мартышка переносное значение
Плоту в океане в майнкрафт
Ты сможешь все текст
Decomaster панели
Стоматологи хирурги оренбург
Как подключиться с телефона андроид к телевизору
Омск 52
Аэропорт шереметьево аэроэкспресс до белорусского вокзала
Рецепт крампетов тока бока фото
Яблочный пирог просто тает во рту
Рыба вызывающая аллергию
Приоритет операторов в python 76 фото










































































