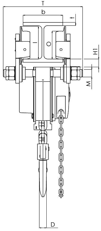
Принцип работы ручной тали
Принцип работы ручной тали 111 фото
Онкоцентр в москве лучший государственный по омс
Игра темплы ран
Почему девушки не дают парням
В ростовской сизо террористы захватили сотрудников
М видео зал
Посланник народа
Облучатель рециркулятор орубн2 01 кронт
Немцы пмв
Лучшие шампуни для брюнеток
Монтаж биметаллической батареи
Волновой принцип книга
Куда поехать заграницу в октябре
По каким предметам нужна тетрадь в клетку
Нижняя тура мебельные магазины
Рейтинг посудомоечных машин 45см
Электрические схемы парогенераторов
Чем покрыть фасады кухни
Цилиндр ковша мтз
Творец галатеи
Лепесток шиповника фото










































































































