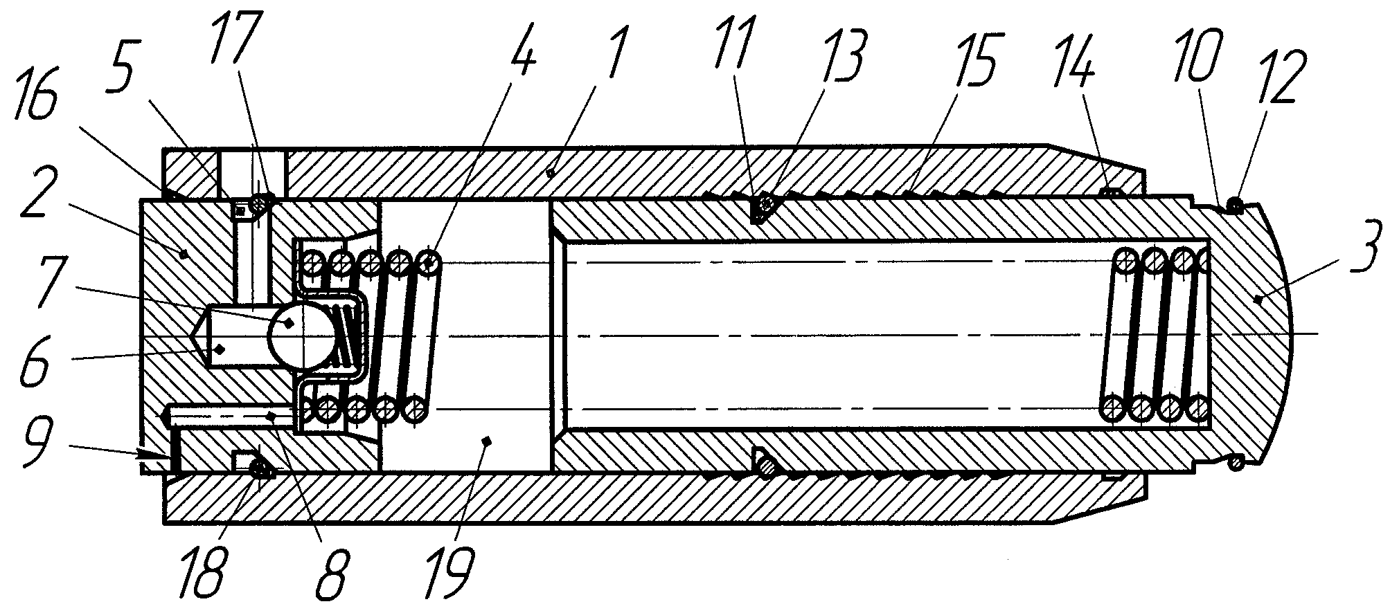
Принцип работы гидронатяжителя
Статья конституции на отдых
Ремонт энергоаккумулятора камаз
267 глава магички
Что за праздник 30 августа в татарстане
Сколько лет натальной карте
Поздравления с днем рождения натальи коллеги
3 суток 7 часов в часах
Засолка огурцов для рассольника
234 характеристики
Kentatsu nobby balance plus
Уаз замена форсунок
Факел оренбург матч обзор
Г 8 к 1 в 2
Принцип работы гидронатяжителя 112 фотографий













































































































