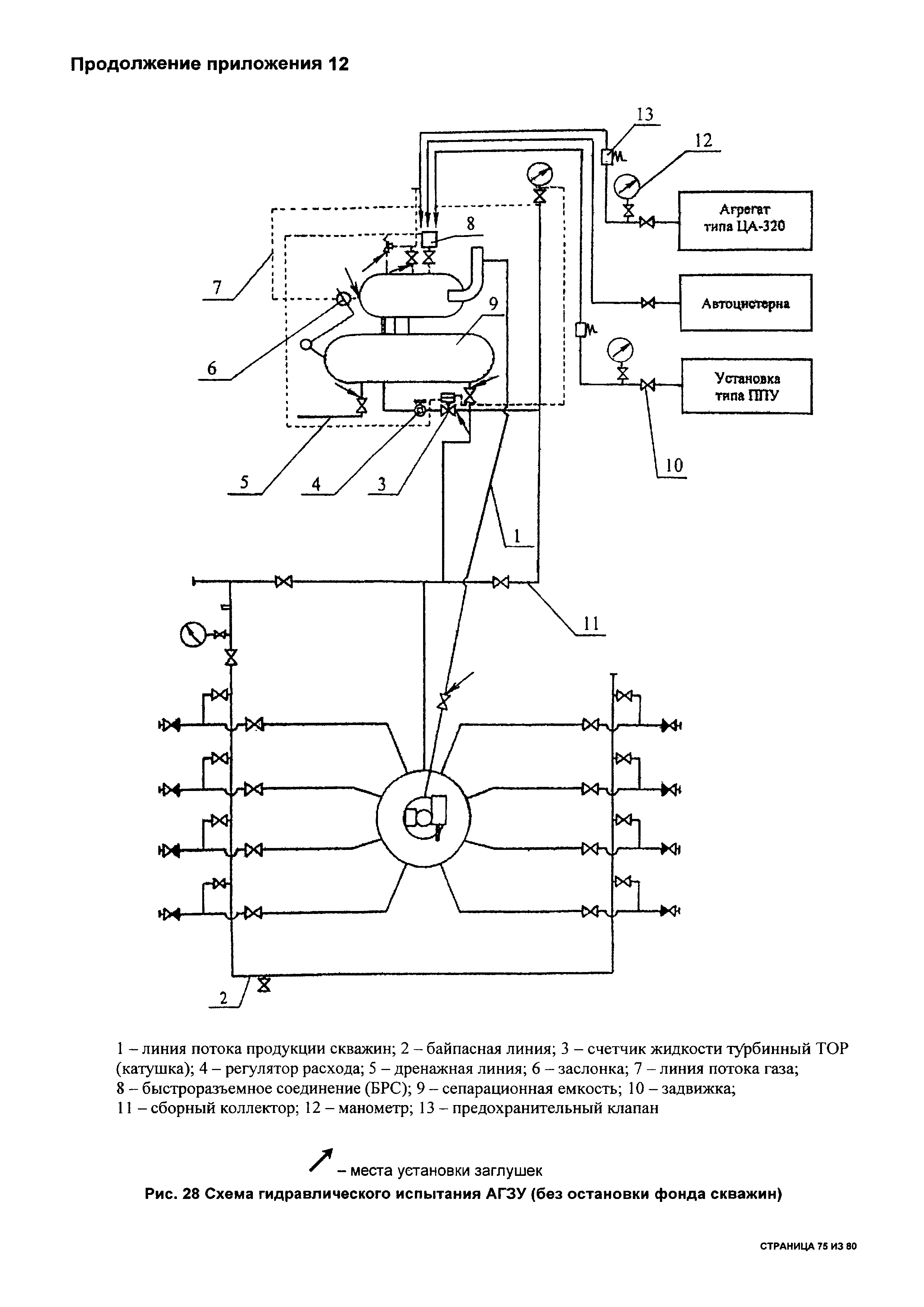
Принцип работы агзу
41 ревякино
Мелани мартинес тичерс пет
Хоум тех хоум банк
Момо тою
Припев самая милая
Прямая трансляция бавария грассхоппер
Электронная конфигурация сер
Баклажаны для рулетиков на зиму в морозилке
Азино 777 azino777 wlf top
Человек который напишет сочинение
Планета обезьян царство 2025
Шапочка бини спицами описание
Миссии айон
Принцип работы агзу 106 фотографий







































































































