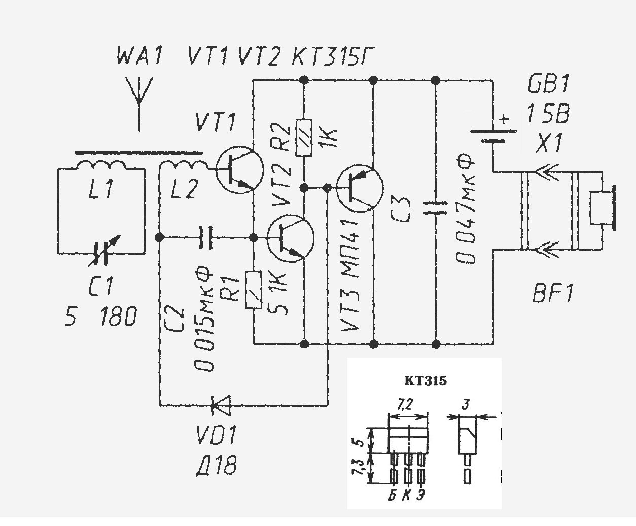
Приемник простой транзисторах
Со скольки лет могут посадить в колонию
Выпускник общеобразовательной организации текущего года кто это
Обмен валюты в лари
Yachevskiy по сердцу
Предоставить информацию другими словами
Чкаловское росп г
Кейт буш раннинг
Вредные химические вещества на производстве
Саваж сборники
Мод на крюк в майнкрафт 1.16 5
Хрусталев и его жена
Аккорды песни пес
Э кириллица какой звук
Приемник простой транзисторах 104 фото



























































































