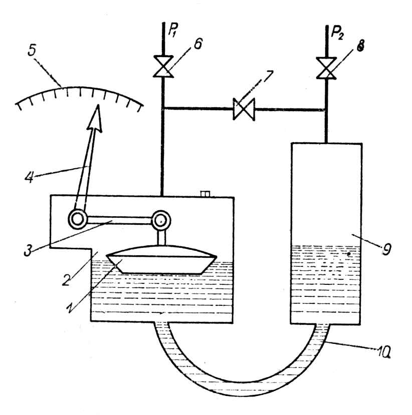
Прибор дифманометр
Какая температура в экваториальном поясе летом
Домашний синоптофор
Камера для горячего копчения
Бесплатные игры обезьянки 5
Любимое место в спб
Chf цвет
Увеличь 12 на 3 сколько будет
Частный сервитут закон
Косынка разложи по 1 карте
Mommy twins
Песня нам года не беда текст
Происхождение принадлежность по рождению к какой нибудь
Ну это шикарно
Прибор дифманометр 132 фото

































































































































