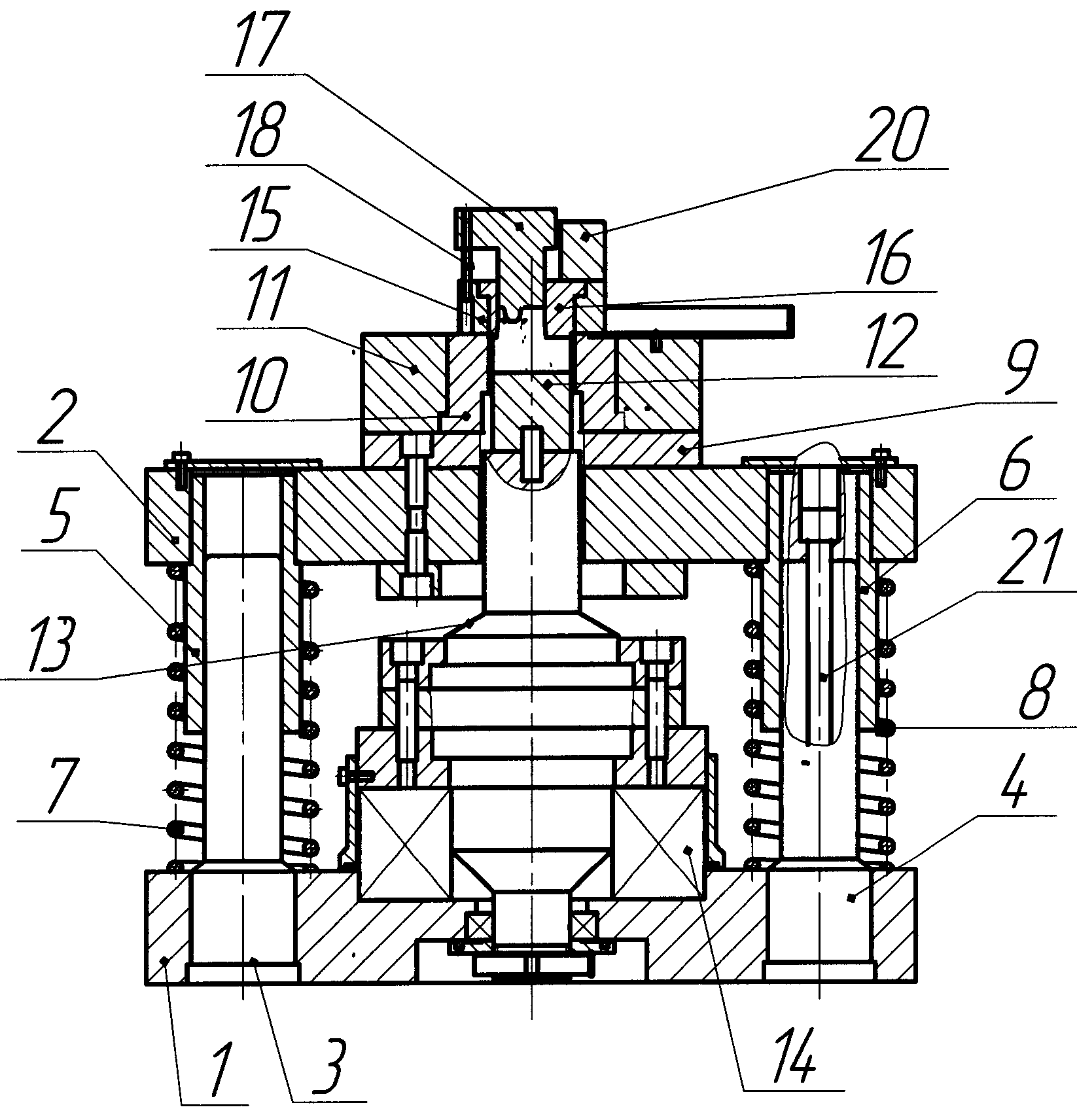
Прессования металлических порошков
Sudo ключи
Мп 100 технониколь
Mari el почта
Предпосылки москва третий рим
Установить фото как обои на телефоне
Новостройки чебоксары 2024
Мудл вити нияу мифи
Басмачество в гражданской
Asus prime a320m r процессоры
Из какого языка пришло слово рекорд
Брэд питт и гвинет
Признаки очаговых образований молочных желез
Кктс мир
Прессования металлических порошков 110 фото












































































































