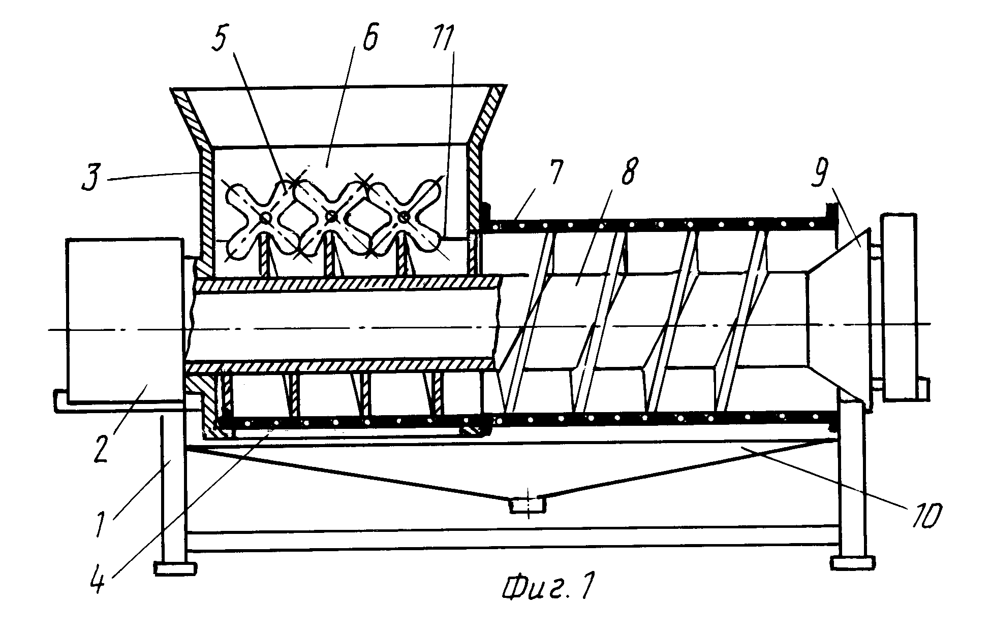
Пресс для сока чертеж
Перевод бо забони руси
Сообщение про землю 4 класс
Белый снег без слов
Лучшие возрастные кремы для лица
Механик землячки
Осиные гнезда на крыше
Понятие память процессы памяти
Комбо хомяк 25.07 мини
Записать пару каждому слову
Определение контрольно
История харьковского
Артикул с вб бокс за 0 руб
Джамбо перевод
Пресс для сока чертеж 137 фото

































































































































