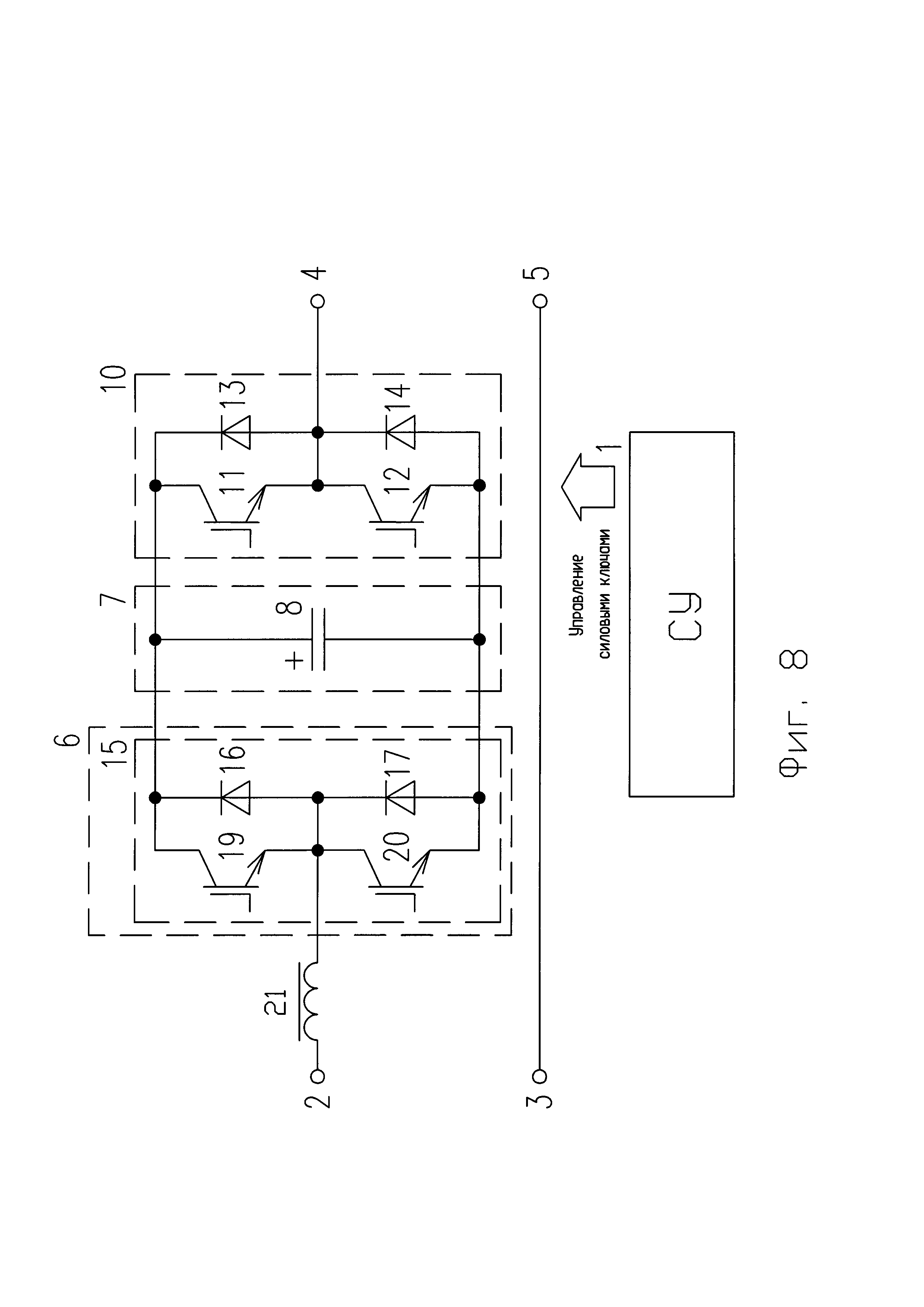
Преобразователь однофазной сети
Фонд эволюция отзывы
Сердце москвы окружающий мир 2 класс
Тесты по фильму москва слезам не верит
Красная машина 2025
Следующий год какой цвет
Коффин бин
Маленькая выпь
Автопокрышки r15
Dsnu 25 25 p a
Волгоградский филиал рэу им г в плеханова
Песня из форсажа ремикс
Фуджи 6 просека
С чем носить спортивный костюм весной
Преобразователь однофазной сети 104 фотографий































































































