Практическое задание по теме Модели полупроводниковых диодов

👉🏻👉🏻👉🏻 ВСЯ ИНФОРМАЦИЯ ДОСТУПНА ЗДЕСЬ ЖМИТЕ 👈🏻👈🏻👈🏻
Практическое задание на тему "Исследование моделей диодов . . .
PDF ИССЛЕДОВАНИЕ ПОЛУПРОВОДНИКОВЫХ ДИОДОВ
PDF Электронные приборы и устройства Практикум
Классификация и устройство полупроводниковых диодов
Полупроводниковые диоды - реферат, курсовая работа, диплом . . .
Готовые задачи - Скачать бесплатно, без регистрации . . .
Характеристики диодов: Диоды . Устройство и работа . . .
Устройство для отбраковки полупроводниковых диодов - тема . . .
Лабораторная на тему Исследование статических . . .
Исследование вольтамперных характеристик полупроводниковых . . .
Дипломная работа по теме Система социально-педагогической работы с приемной семьей
Реферат по теме Понятие системы наказаний
Реферат На Тему Влияние Человеческого Фактора
Исследование характеристик полупроводниковых диодов и устройств на их основе Практическое задание по информатике и телекоммуникациям
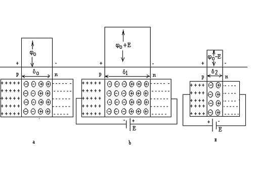
Полупроводниковые диоды широко применяются для выпрямления переменного тока (выпрямительные диоды), для детектирования высокочастотных колебаний (высокочастотные диоды), для
1 . Математические модели полупроводниковых диодов……………… . 11 1 .1 . Вольт-амперная характеристика идеального p-n-перехода… 11 1 .2 . Нелинейная модель полупроводникового диода…………… . 14 1 .3 .
cifra .studentmiv .ru /ekm-teoriya4-1/
Презентации по ТАУ; 1-1-Термины; 1-2-W(p) звеньев; 1-3-h(t) 1-4-Моделир h(t) 1-5-ЧХ САУ; 1-6-ЧХ звеньев; 1-7-Модели ЧХ; 1-8-ЛАЧХ; 1-9-Модель ЛАЧХ; 1-10-W(p) соединений; 1-11-ЧХ посл; 1-12-Параллельное соединение; ТАУ-2 семестр
Выпрямительный полупроводниковый диод - это полупроводниковый диод, предназначенный для преобразования переменного тока в постоянный . Выпрямительные диоды выполняются на основе р-n- перехода и имеют две области, одна из них является более низкоомной (содержит большую . . .
Практическое задание по теме Исследование полупроводниковых диодов Предмет: Информатика, ВТ, телекоммуникации
Самым простым по конструкции в семействе полупроводников являются диоды, имеющие в конструкции всего два электрода, между которыми существует проводимость электрического тока в одну сторону . Такой вид проводимости в полупроводниках создается благодаря их . . .
DEVICE FOR REJECTION OF SEMICONDUCTOR DIODES . The article describes the control device, allowing to make rejection of semiconductor diodes . The proposed device has a high accuracy and reliability of the control . The device allows you to set different rates of change of the output voltage of the sawtooth generator .
628 .03 Кб . Поделиться . Исследование статических характеристик полупроводниковых диодов . Цель работы: Изучить устройство полупроводникового диода, физические процессы, происходящие в нем, характеристики, параметры, а также типы и применение полупроводниковых диодов . . .
testent .ru /load/referaty/referaty/1/8-1-0-235
Реферат по физике . ВВЕДЕНИЕ . Современные условия жизни требуют от студентов хорошую теоретическую подготовку и, что особенно важно, практические знания и умения - столь необходимые в рыночной экономике .
Курсовая работа по теме Політичний устрій Італії
Алиментарная Анемия Поросят Реферат Скачать
Реферат: Моё мнение по поводу критической полемики о пьесе А.Н.Островского "Гроза". Скачать бесплатно и без регистрации
Темы Дипломных Работ По Электрике
Курсовая работа: Расчет показателей капитального ремонта
Практическое задание по теме Изучение устройства, принципа действия и классификации одноковшового и многоковшового экскаватора
Курсовые Работы На Заказ Ижевск
Инсульт Дипломная Работа
Дипломная работа по теме Національна депозитарна система України
Курсовая На Тему Молоко
Дипломная работа: Институт опеки и попечительства. Скачать бесплатно и без регистрации
Реферат: Методологические основы менеджмента. Метод исследования – системный подход. Скачать бесплатно и без регистрации
Реферат по теме Современная миграционная политика в зарубежных странах
Эссе по теме Понятие общества
Реферат: Львовско-Волынский каменноугольный бассейн
Мутагенез И Его Виды Реферат
Реферат по теме Управление Сибирью в XIX – начале XX века
Шпаргалка: Эволюция районов и анклавов "Российской" СКС
Реферат На Тему Правовое Регулирование Земельных Отношений
Примеры Сочинений По Истории Егэ 2022 Г
Государственное регулирование территориального развития Приморского края
История Мира Реферат
Эссе Бактерии В Жизни Человека
Курсовая работа по теме Гра "Арканоід" на основі XNA Framework
Условия Преступности Реферат
Почему Важно Оставаться Самим Собой Сочинение
Чем Отличается Рассказ От Сочинения
Правовые Акты Государственного Управления Казахстана Эссе
Дипломная работа: Модернизация лабораторных стендов и наладка новых лабораторных комплексов лаборатории измерительной
Контрольная работа по теме Расторжение трудового договора по инициативе работодателя при отсутствии виновных действий со стороны работника
Стратегия Развития Предприятия Курсовая
Курсовая работа по теме Психологические особенности эмоционального здоровья студентов
Реферат: «Сканер»
Курсовая работа: Разработка технологии процесса управления персоналом. Скачать бесплатно и без регистрации
Дипломная работа по теме Реформа обязательного пенсионного страхования
Курсовая работа по теме Телесные повреждения
Реферат: Самооценка и ее роль
Дипломная работа по теме Разработка стратегии и структуры компании
Проблема Образования Недоросль Сочинение
Сочинение Про Планеты 4 Класс
Сочинение О Казахстане 4 Класс
Доклад по теме Созвездие Ящерица
Итоговое Сочинение 250 Слов
Реферат: Средства достижения выразительности в интерьере
Контрольная работа: Анализ газетной,журнальной и телевизионной рекламы
Властелин Колец Аргументы К Итоговому Сочинению
Методическое указание по теме Прогнозирование опасных факторов пожара
Курсовая работа по теме Товары, подлежащие таможенному декларированию. Особенности декларирования товаров для личного пользования
Реферат: Человечекский капитал
Льготы В Праве Социального Обеспечения Курсовая
Контрольная работа по теме Совершение сексуальных убийств
Курсовая работа: Лабораторный практикум по ботанике как средство развития самостоятельности учащихся
Курсовая работа по теме Методы плотностного и селективного гамма-гамма каротажа
Курсовая работа по теме Фостерная семья - стратегия работы с детьми-сиротами
Контрольная Работа По Английскому Языку Седьмой Класс
Курсовая работа по теме Расчет тяговой подстанции
Реферат На Тему Транспортная Система России
Клонирование Человека Этические Аспекты Реферат
Гдз По Контрольным Работам 9 Класс Макарычев
Реферат Угрозы И Вызовы 21 Века
Курсовая работа: Ответственность в земельном праве
График Лабораторных Работ
Курсовая работа по теме Основания к отмене судебных постановлений
Сочинение Огэ Подвиг По Тексту
Темы Контрольных Работ По Английскому Языку
Клише Для Эссе По Истории Егэ
Контрольная работа по теме Антиамериканские движения в странах Центральной Америки в 1920-х годах
Курсовая Работа На Тему Исследование Эмоционального Опыта В Психологии Личности
Курсовая Работа На Тему Ефективність Правового Регулювання І Шляхи Її Підвищення
Реферат: Образ главного героя в трагедии В. Шекспира "Гамлет". Скачать бесплатно и без регистрации
Отчет по практике по теме Анализ эффективности работы ЗАО ПЗ 'Семеновский' Медведевского района
Оперативно Розыскная Деятельность Эссе
Реферат: Курс лекций по экономической истории
Реферат по теме Canada
Три задачи по криминалистике
Реферат: Main Functions Of The Law Essay Research
Курсовая Работа На Тему Формирование И Управление Торговым Ассортиментом Предприятия
Практическое задание по теме Исследование симметричных и несимметричных режимов работы трехфазной цепи переменного напряжения при соединении фаз источника и приемника по схеме "звезда"
Как Начать Комментарий В Сочинении
Эссе По Теме Исследования
Дипломная работа по теме Конструкторско-технологическая подготовка модернизации механизма натяжения стальной полосы агрегата продольной резки
Реферат: Інфляція, її суть, види та соціально-економічні наслідки
Реферат по теме От доисторических Венер к Богине-Матери
Сочинение Мое Любимое Время Года Весна
Написать Сочинение Осенний Пейзаж
Дипломная работа по теме Особенности регулирования труда педагогических работников в РФ
Эссе На Тему Профессиональное Развитие
Курсовая работа по теме Розробка вакуум-випарної установки на рівні технічного проектування
Дипломная работа по теме Применение почвенных и листовых гербицидов на сое в северной лесостепи Южного Урала
Мой Выбор Медицина Эссе
Контрольная работа по теме Предупреждение и борьба с поглощениями бурового раствора
Торговый Диссертация
Доклад: Соображения около инвентаризации культуры
Производная, дифференциал и интеграл
Курсовая работа по теме Повышение эффективности функционирования склада
Реферат Правила Поведения При Наводнении
Системы Управления Организацией Курсовая Работа
Эссе По Обществознанию Бытие Определяет Сознание
Курсовая Работа Инвестиции
Автор Сочинения С Помарками Педагога 6 Букв
Практическое задание по теме Модели полупроводниковых диодов







































