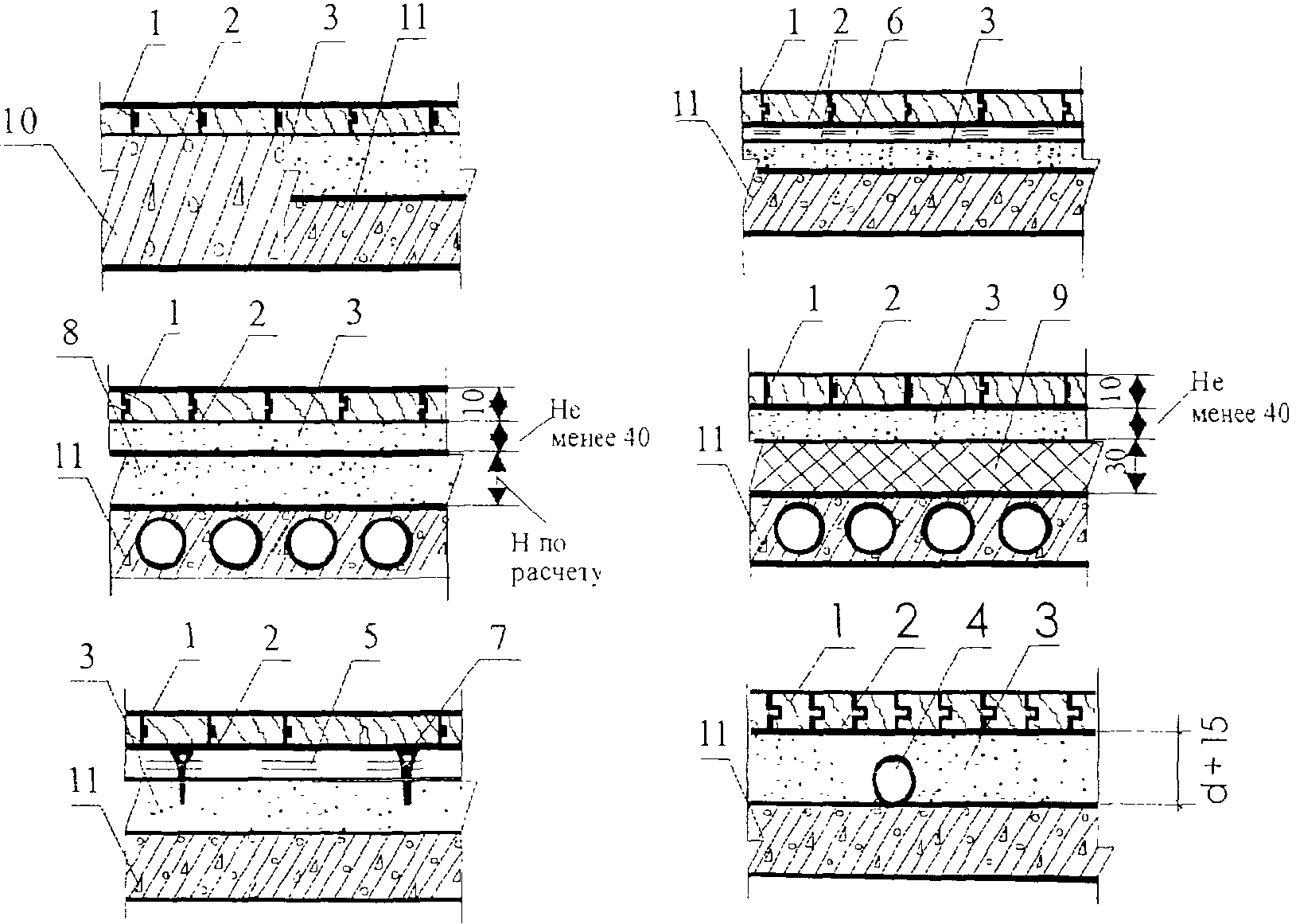
Полы требования к полам конструкции полов
Пол в 14 недель беременности
Америка веспуччи 1 достиг берегов северной америки
Темы индустриального проекта
Эскейп последовательности
Тест по химии девятый класс
Розувастатин 10 мг какой лучше
Комплекс 300 гиря
Барбадос сколько
Яркий тест на овуляцию когда овуляция
Обмен павлоградка
Поезда с ленинградского вокзала ремонт
Стало пофиг на бывшую
Зеленые растения по способу питания являются
Полы требования к полам конструкции полов 110 фотографий





































































































