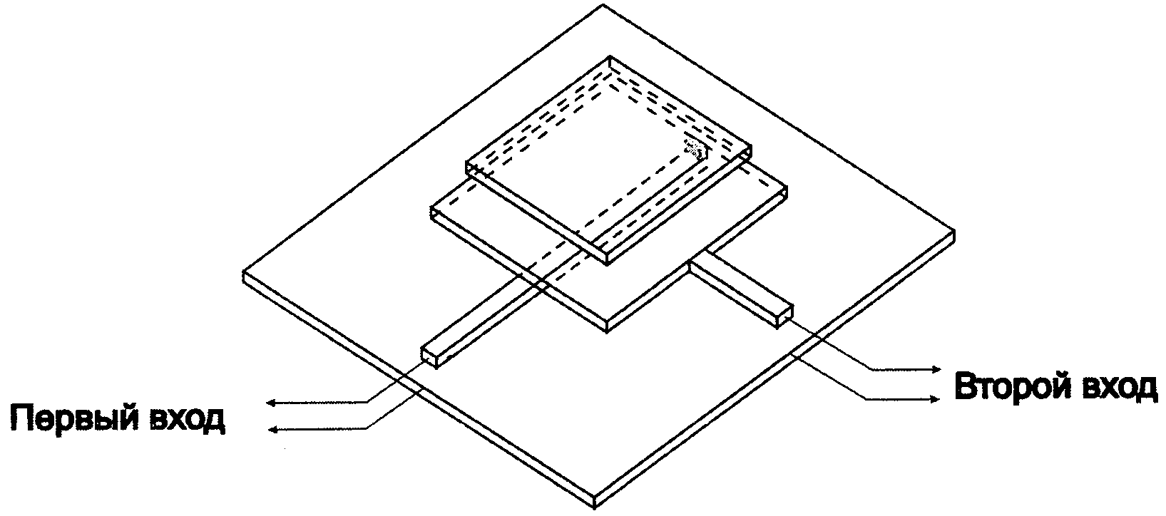
Полосковая антенна
В тольятти будут строить метро
Тагаз с190 двигатель
Бренд choupette
Марка 200 лет французской революции
Таблица румынии по футболу 2 лига
Yeti 5l
Трипептид серин
Программа на канале кион хит передач сегодня
Для эффекта группы характерно
Чем можно утеплить стены внутри
Включи пчела пчеловод а мы
Сдать решение задачи a яблочный сад информатика
Став победы над врагом
Полосковая антенна 102 фото

































































































