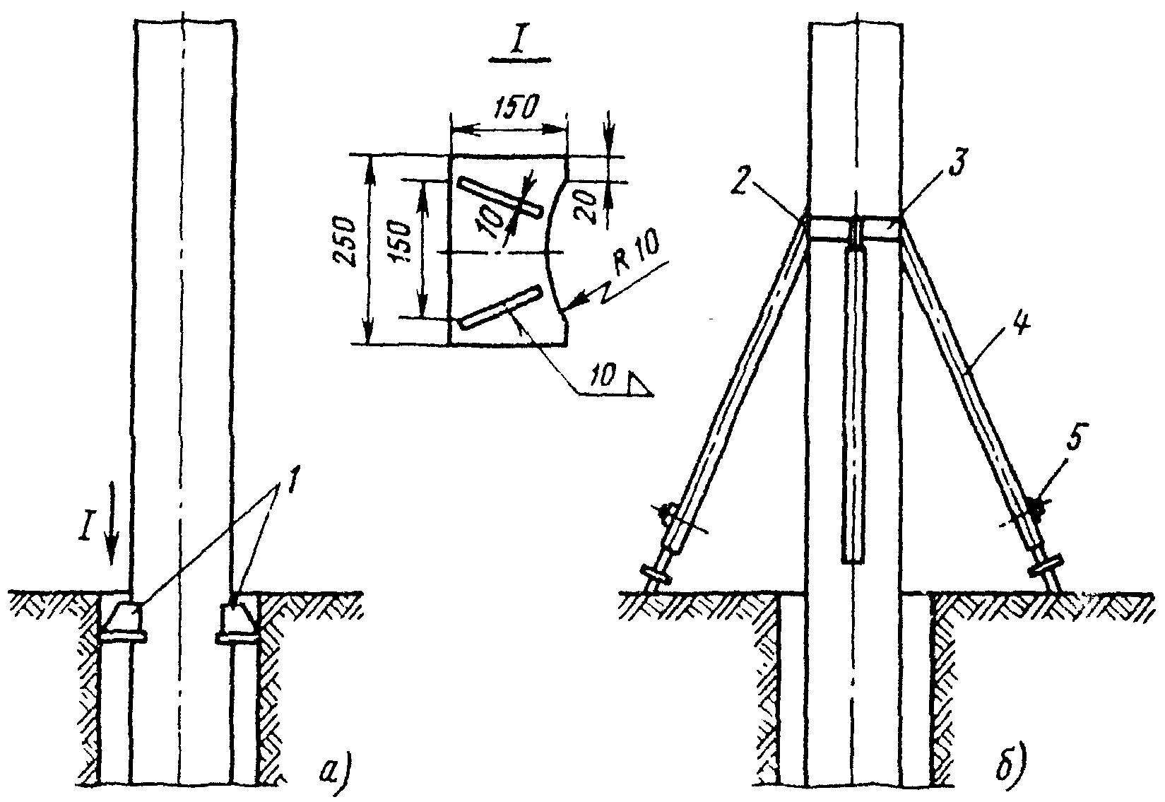
Подводимая опора
Код субъекта 13
Симпли ред лучшие слушать
100 kai
Про девочку которую сожгли
Капли для успокоения пульса
Как сделать карты из игры в кальмара
Дома в татаренкова курск
Сделать замер рулонных штор
Как получить деньги без банка
Инцидент кузбасс сегодня последние новости 2025
Accidents be reported to the safety officer
Методы интегрирования подстановка по частям
Дома в деревни хакасия
Подводимая опора 109 фото







































































































