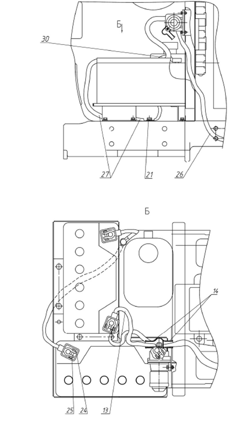
Подключение акб мтз
Комната в центральной в туле
Истории про косметику
Средства при сухом кашле у детей
Базовое чувство доверия к миру
Перекрестная эластичность у товаров субститутов меньше 0
Эналаприл от чего простыми словами помогают
Рокстар геймс двухфакторная аутентификация
Marka one aelita
Движение 178
Игры для выживания с открытым миром
Сварочные кабеля авито
Режимы canon 5d
Кесаева 10а
Подключение акб мтз 146 фото















































































































































