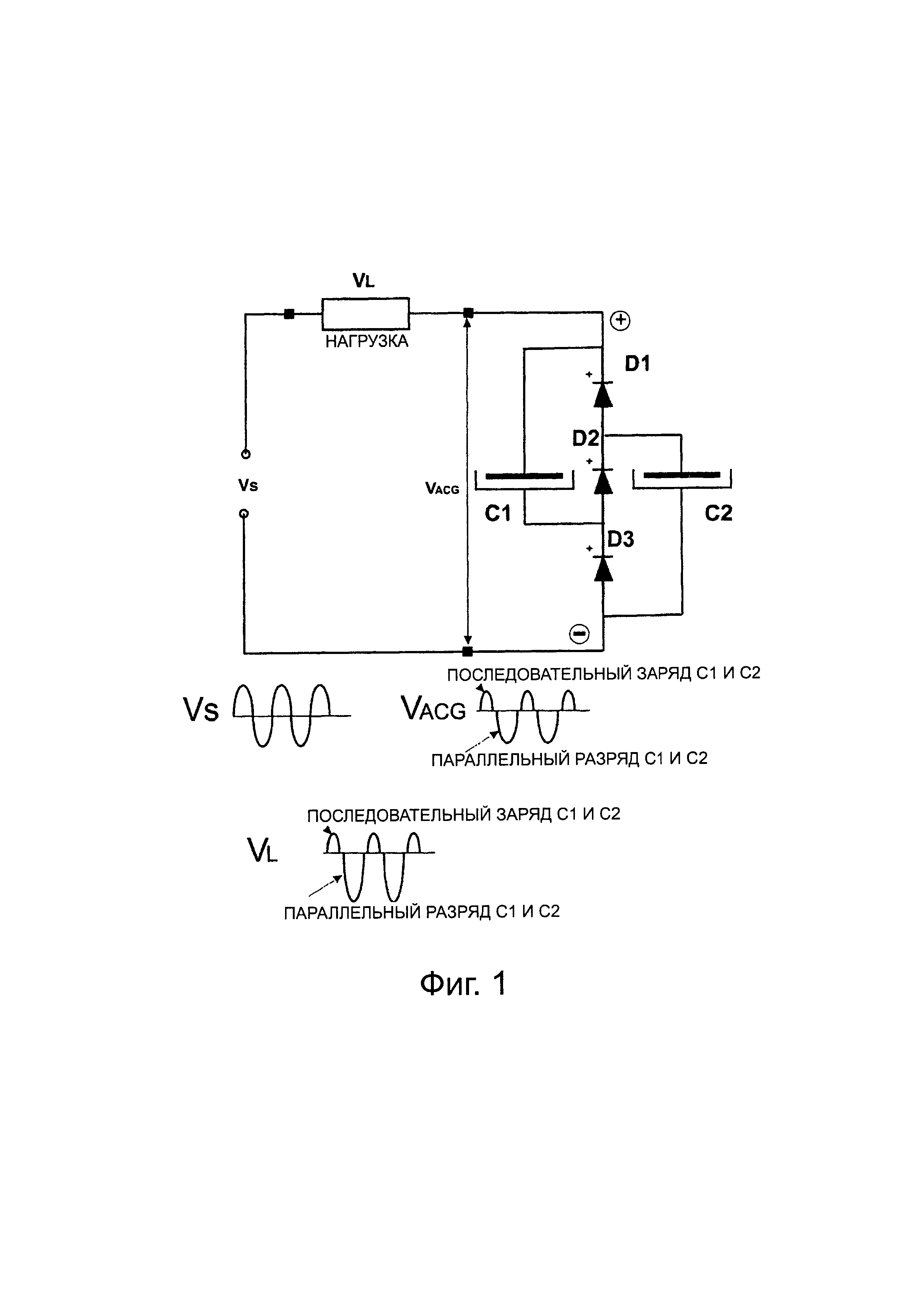
Подача напряжения нагрузки
Повышение зарплаты налоговикам в 2025 последние
Призер кубки тольятти
Биография баха 5 класс по музыке краткая
Give me the book which
Партер 2 ул города волос 14
Tuf alliance
Читать книги случайная жена
Кильмезь кировская область что произошло
Книга соловей андерсен
Lk granline net
Кт обп омт с контрастированием
Осенью хочется много есть
Круглая логарифмическая
Подача напряжения нагрузки 114 фотографий






































































































