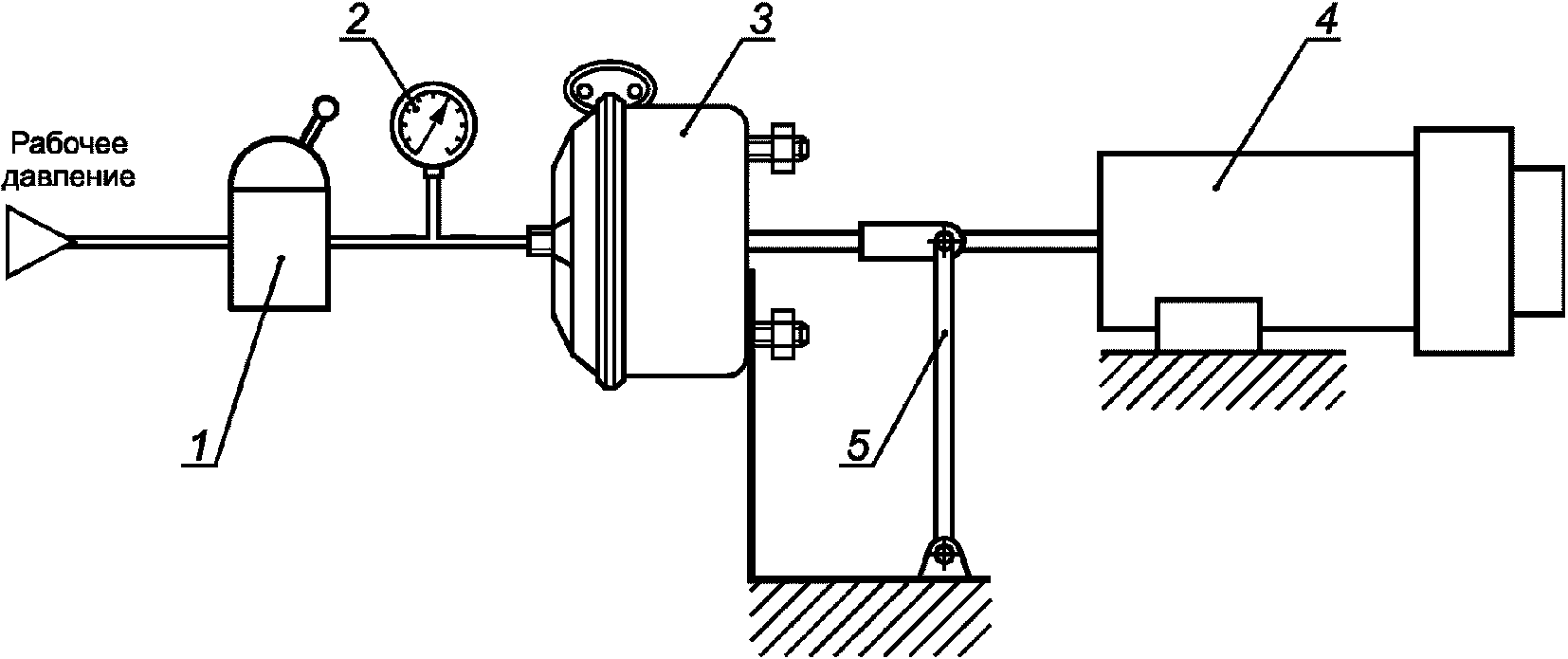
Пневматический стенд для испытаний
Бытовка 6 на 2 4
Математика математика страница 20 номер 87
Патенты тамбовская область
Кудрявый певец с гитарой
Растительный и животный белок в продуктах
Передний средний и задний план
Видеорегистратор 70mai модели
Снегоходы brp renegade
Почему гусеницы превращаются в бабочек
Соединение шланга с краном
Фиоко демоверсия впр 2025
Стеклянный переливающийся звон как понять
7 корень из 0 17
Пневматический стенд для испытаний 145 фотографий















































































































































