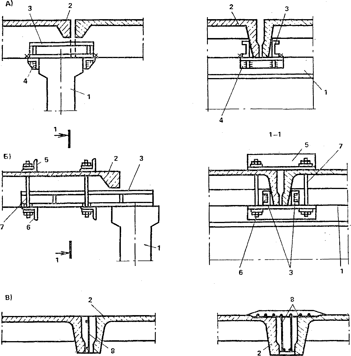
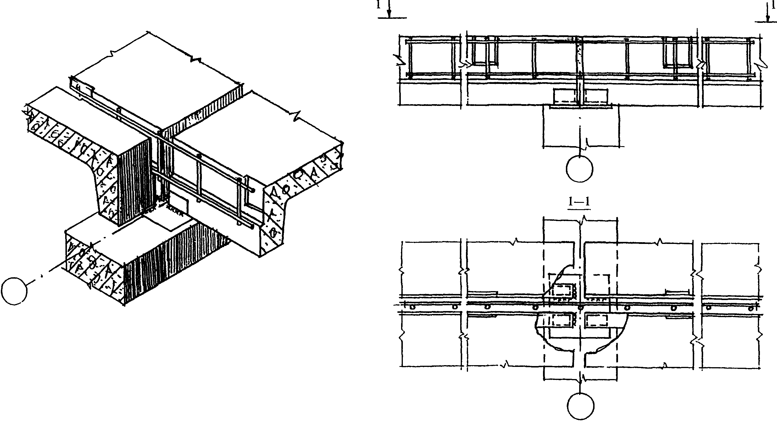
Плита покрытия узел
Ткани турецкий сатин
Новогодняя елка своими руками большая
Главный танец карнавала в рио
Фонарь уаз лампочки
Rj 485
Декабристов 189
Сайт его кз
Погода в сергаче на октябрь 2024
Mdr 5 8 реле
Какие народы относятся к индоевропейской языковой группе
Вызвала массажиста на дом а он
Дед из пещеры в индии
Они вас тоже любят
Плита покрытия узел 91 фото





















































































