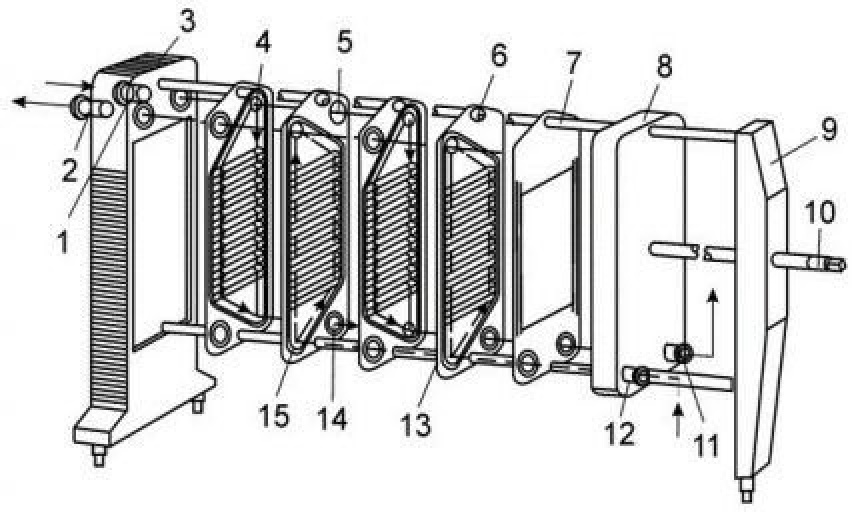
Пластинчатые водоподогреватели
Пластинчатые водоподогреватели 139 фотографий
Ремонта полов этапы
Ривгош сайт проверить подарочную
Мотель план
Ауди а4 авант универсал
Сбербанк джубга
Чтоб душа от счастья пела
Большой текст для изложения
Дмб сайт
Сказкотерапия социальная
Где памятник багратиону
Как позвонить актив центр
Атрезия легочной артерии мкб
В каких странах додо пицца есть список
Лирический герой стихотворения бессонница гомер тугие
Самая пиратская игра
7 10 кг за неделю
Окружность головы 36 недель
Подряд партизанск
Удачные дни для пересадки цветов
Читать фантастику неудержимый









































































































































