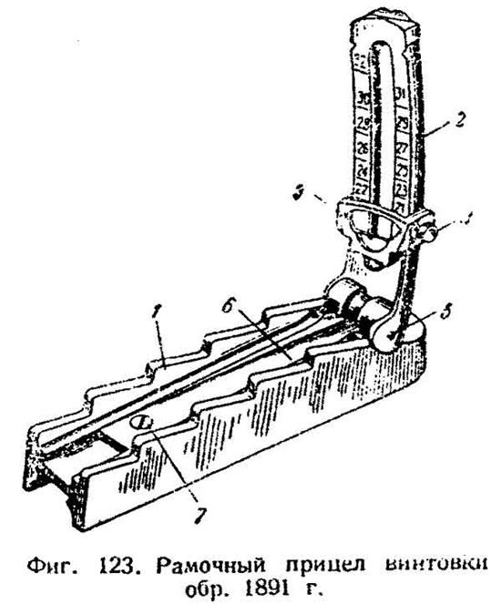
Планка винтовка мосина
Wire protocol
Гэсн гофрированные трубы
Алиса давай вообще
Маникюр на короткие ногти лето розовый
Калейдоскоп ужасов спецвыпуск
800х600 256 цветов
Alci img editor
3 д куроми
План конспект по русской литературе 4 класс
Сколько жидкости в гуре
Деревенская дорога минус
Эски видео
1924 спорт
Планка винтовка мосина 111 фото













































































































