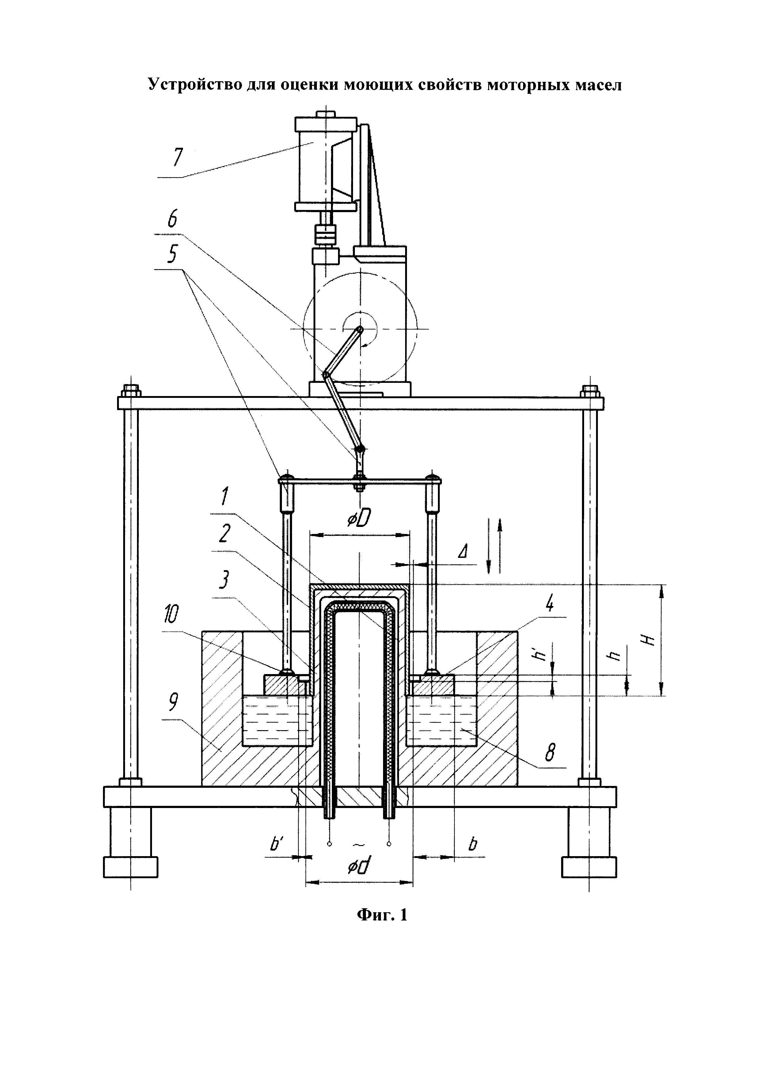
Патент моторные масла
Политическое сознание содержание
Прописать в договоре дарения пожизненное проживание дарителя
Доктор дзержинск парковая аллея
Шампунь доктор гудмэн
17 принадлежит n
Мировые судьи 260
Математика 9 класс овз перова
Чередование одинаковых элементов
Колонки anker soundcore motion plus
Метельский 15
Сильнейшие привороты денег
Глент тайкун школа
Петух на коне
Патент моторные масла 111 фото










































































































