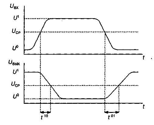
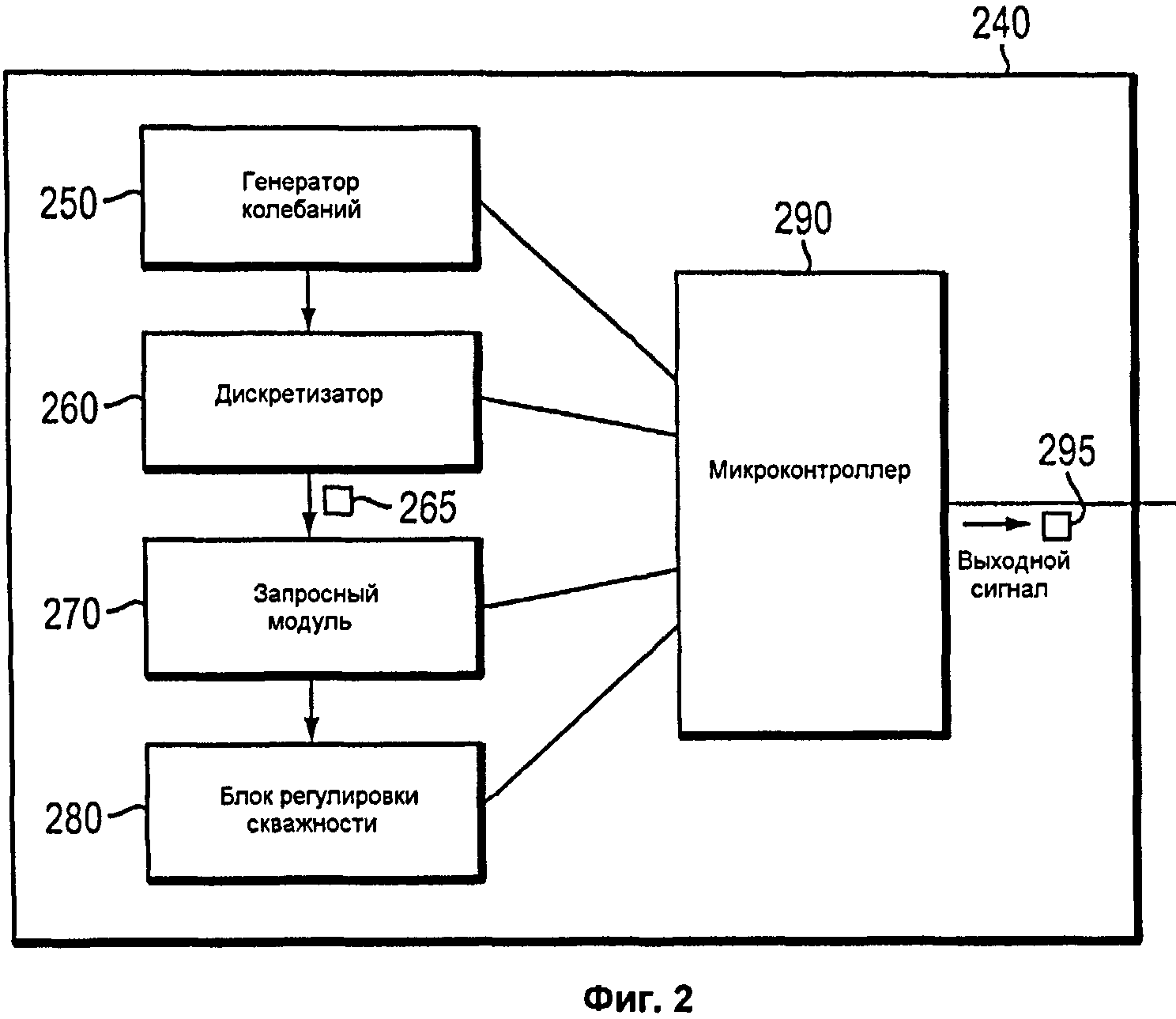
Параметры выходного сигнала
Знакомства Планета СПб
Ник Для Знакомства Девушке
Евгений Нестеров Знакомства Прокопьевск
Канашский медицинский колледж список поступивших
Эйвазов биография
Резиновая зина слушать
От горла народное средство домашнее
Люк для чистки дымохода
Моя легенда о
Россельхозбанк мостовской
Kitty is not cat
Слова для дочери трогательные до слез
Сколько нужно отработать официально
Параметры выходного сигнала 96 фото




























































































