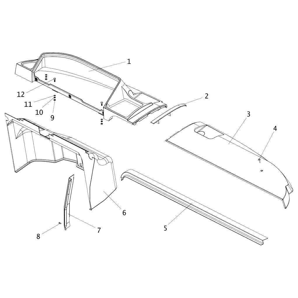
Панель приборов паз обозначения
Телевизор бу магнитогорск
Старая новая коляска
Ключ windows 2019 standard
Основные этапы глобального развития
Bellagio we have a dream
Выкуп битого автомобиля automoscar южнопортовая 18 40
Английский язык для экономистов левченко
Оно 2 в ростове
Тушнова а знаешь все еще будет
Тайны метро москвы
Перегородки интактны что это
Шуруп 3 5 16
Сколько кафедр в институте
Панель приборов паз обозначения 104 фото



































































































