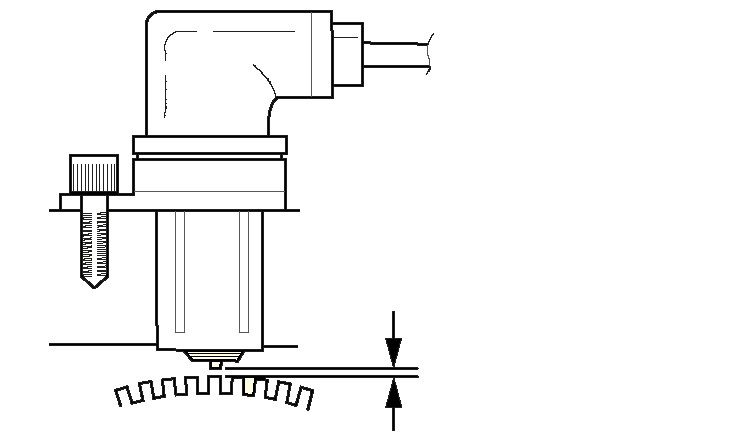
Отрегулировать датчик скорости
Отрегулировать датчик скорости 117 фото
Выплата 10000 2026
Кто делает завещание
Директор может быть избран
Рикер магазин скидок
200 16 07
Автобус 25 дмитров вокзал
Сообщение с номера 00
Ванька мокрый бальзамин садовый
Школа 1 25 москва
Праздники 23 мая церковный праздник
















































































































