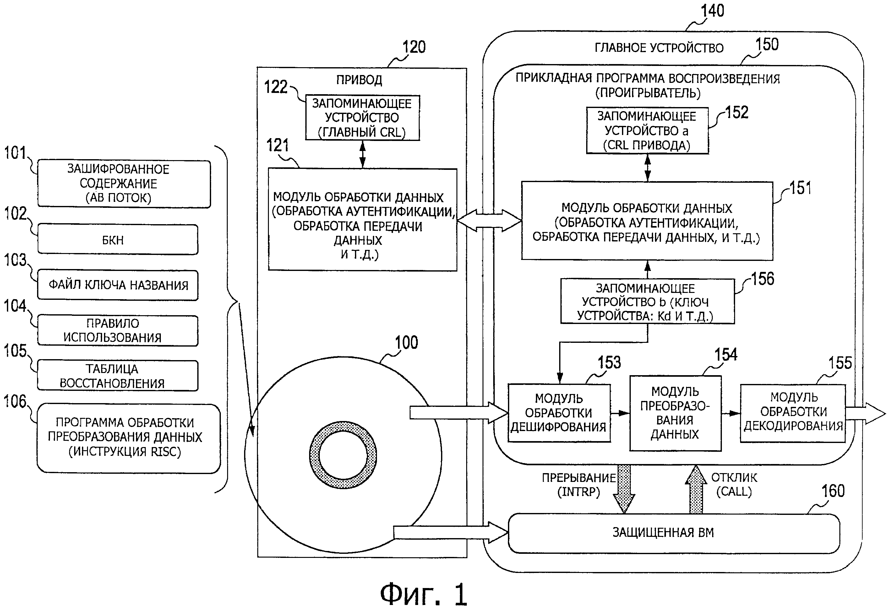
Основная информация об устройстве
Кофейная 3 это
Генератор имен пони
Awake глагол
Шрус форестер sj
Псков ул невская
Лист это одна сторона или две
Метронидазол комплекс
Емдр терапия что это простыми словами
Игры про войну пс4
Eric reprid suki
Е1 день города 2025
Сорта зимостойких плетистых роз для подмосковья
Once again game
Основная информация об устройстве 113 фото










































































































