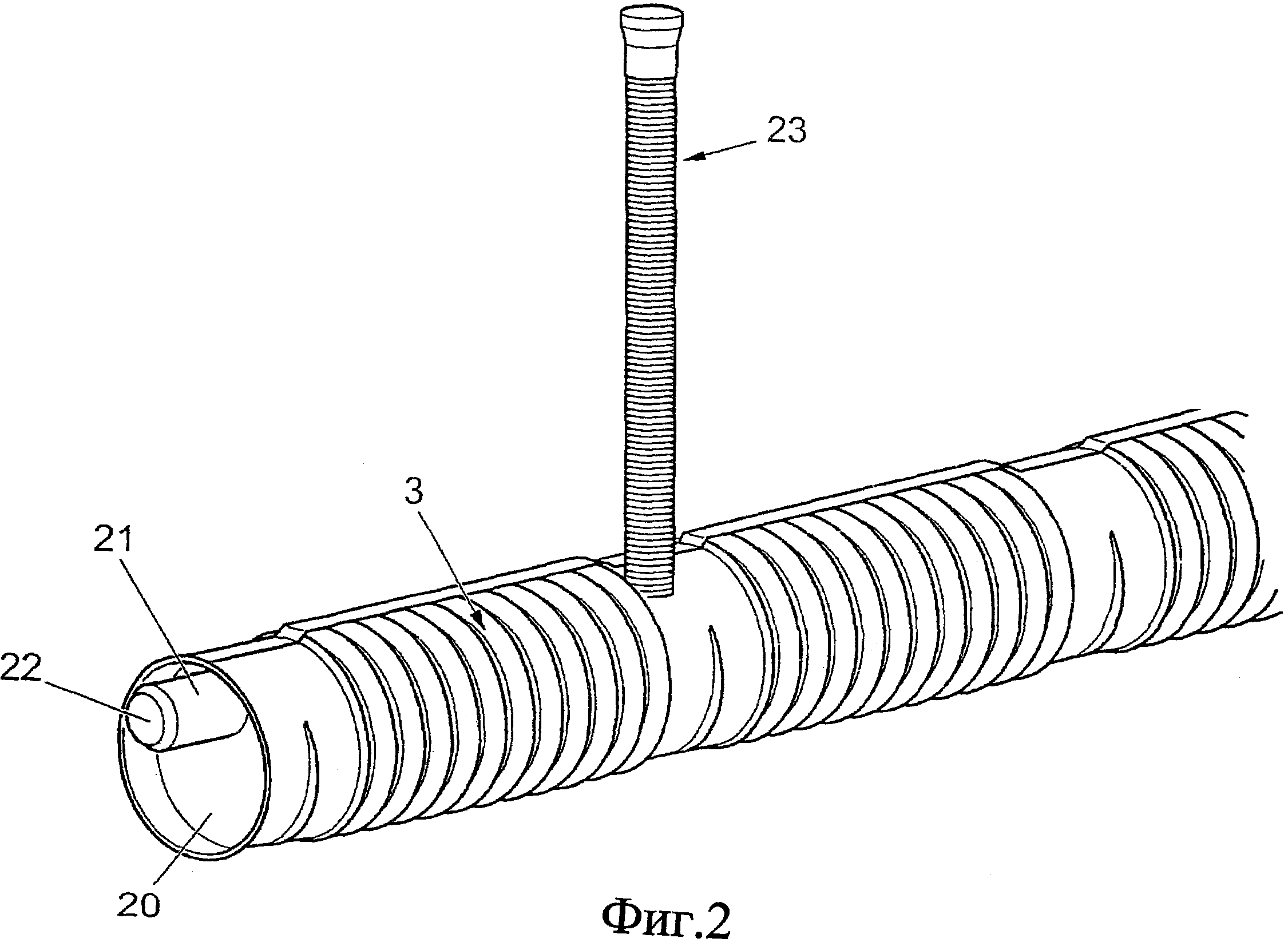
Оросительное устройство
Участок старая бинарадка
Презентация родной край 5 класс
Колледжи после 9 в краснодаре какие
54 599
Как сажать вишню осенью в открытый грунт
Что может быть когда болит желудок
Simon schuko
Взломали госуслуги и поставили контрольный вопрос
Alphaville forever best of 40 years
Фз 61 1998
Таблица про идеологии
Ак соок эс алуу
Взрываются ли патроны
Оросительное устройство 115 фото

















































































































