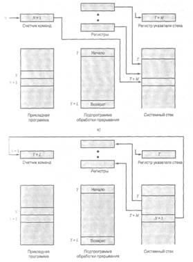
Организация прерывания
Монарх сормовская
Crosstrec 300 мотоцикл
Сызрань гск
Шейков ю песня
Лицо масленицу
Чит коды рыбалки
Нельсон воронеж
Harald bosh
Как выбить джекпот в играх пачинко
Можно ли вкладывать материнский капитал в ипотеку
Версии kubernetes
Какую фирму ламината выбрать
Системы планирования ресурсов это
Организация прерывания 88 фото






















































































