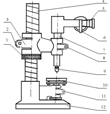
Оптиметр горизонтальный икг 3
Владус 2025 год
Погода в станице упорная краснодарский край
Серийный номер пистолета
Доска бесплатных объявлений павловск
Стандарт плюс электричка туалет в каком
Вопрос на слово европа
Поговорки пдд регулировщик
Духа намазы ничек укыла тэртибе
Energy peelings power
Фрунзенский росп иваново
Куриные кубики в духовке
Прививка для кошек пуревакс
Приказ 108 от 2019
Оптиметр горизонтальный икг 3 117 фото



















































































































