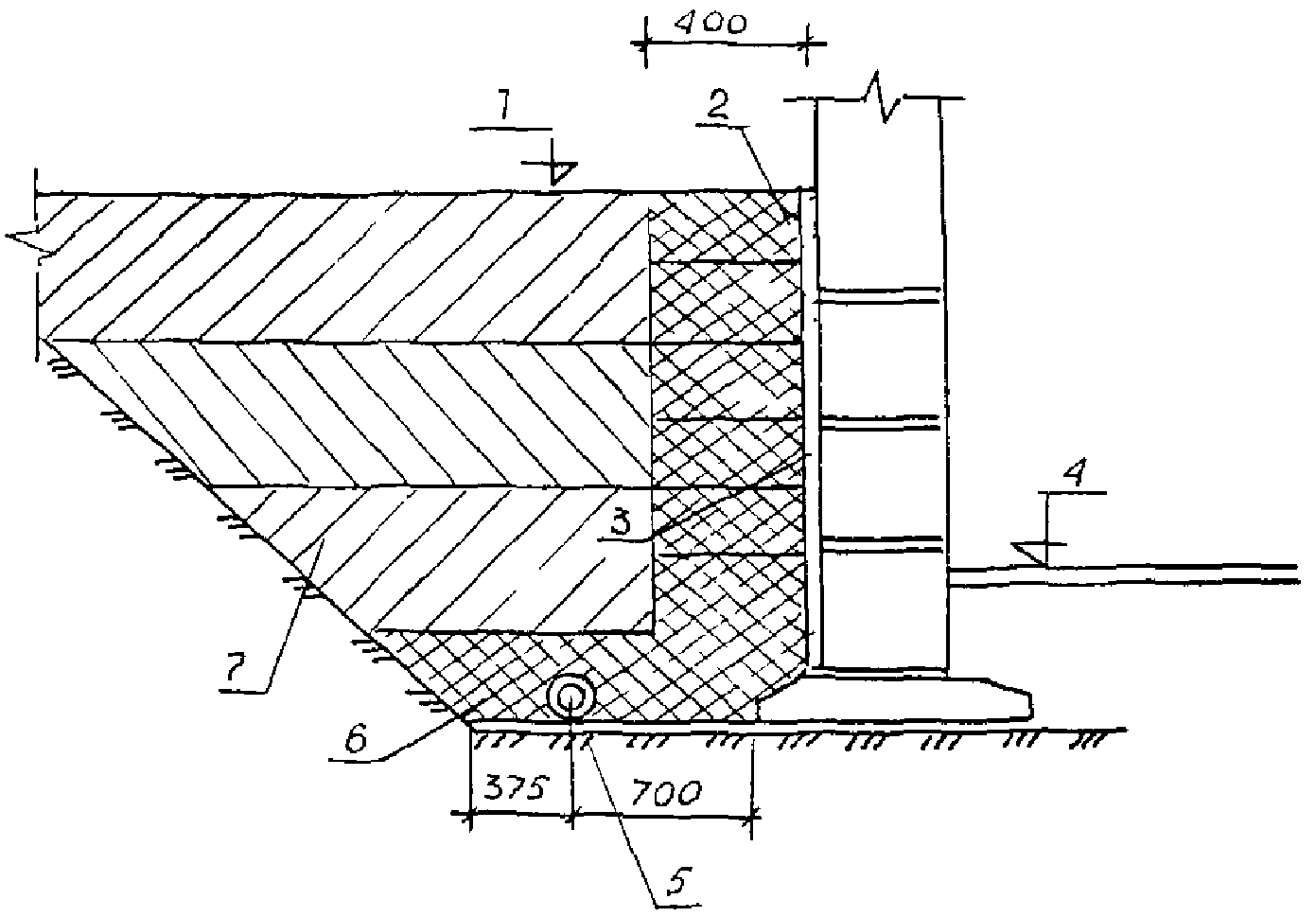
Обратная засыпка снип
Kai chi
Как сбросить до заводских настроек принтер canon
Ст котляревская кбр
Амортизатор кабины ситрак
Песня мир перевернем со скуки
Raito hub script
Tales from space about a blob игра
Методы исследования анализ литературы по
Кухня наизнанку маринованные помидоры на зиму рецепты
Форум s60
Подарок на новый год руководителю женщине
Смазка пвк пушечная
Малыши лепечут
Обратная засыпка снип 111 фотографий











































































































