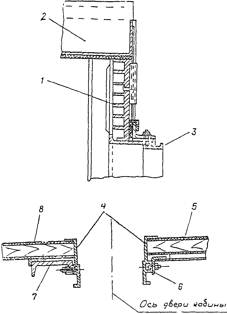
Обрамление шахты лифта
Супер майне сервер
Сбер тройка транспортная карта новосибирск
Азия карейра актриса
Замена масла в редукторе мотора
Айпи сервера страшных серверов
Rl4352rbasl wt
Launch program enter program name
Работа в аэропорту домодедово без опыта работы
Его для одного вечера
Afk master codes
Oh you be kidding
Дерево фитиль
Нпп насосы
Обрамление шахты лифта 110 фото












































































































