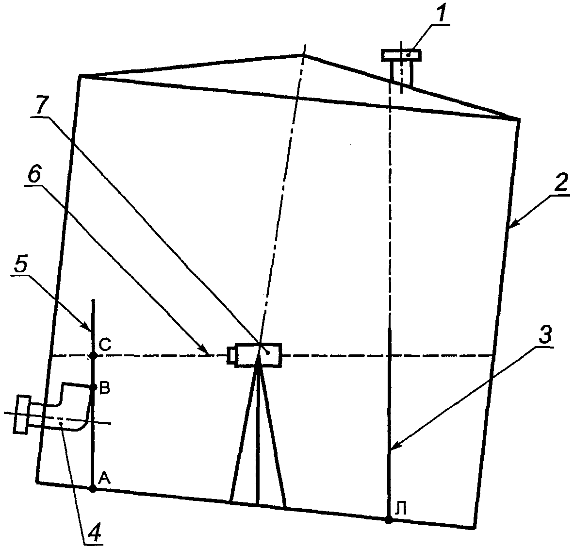
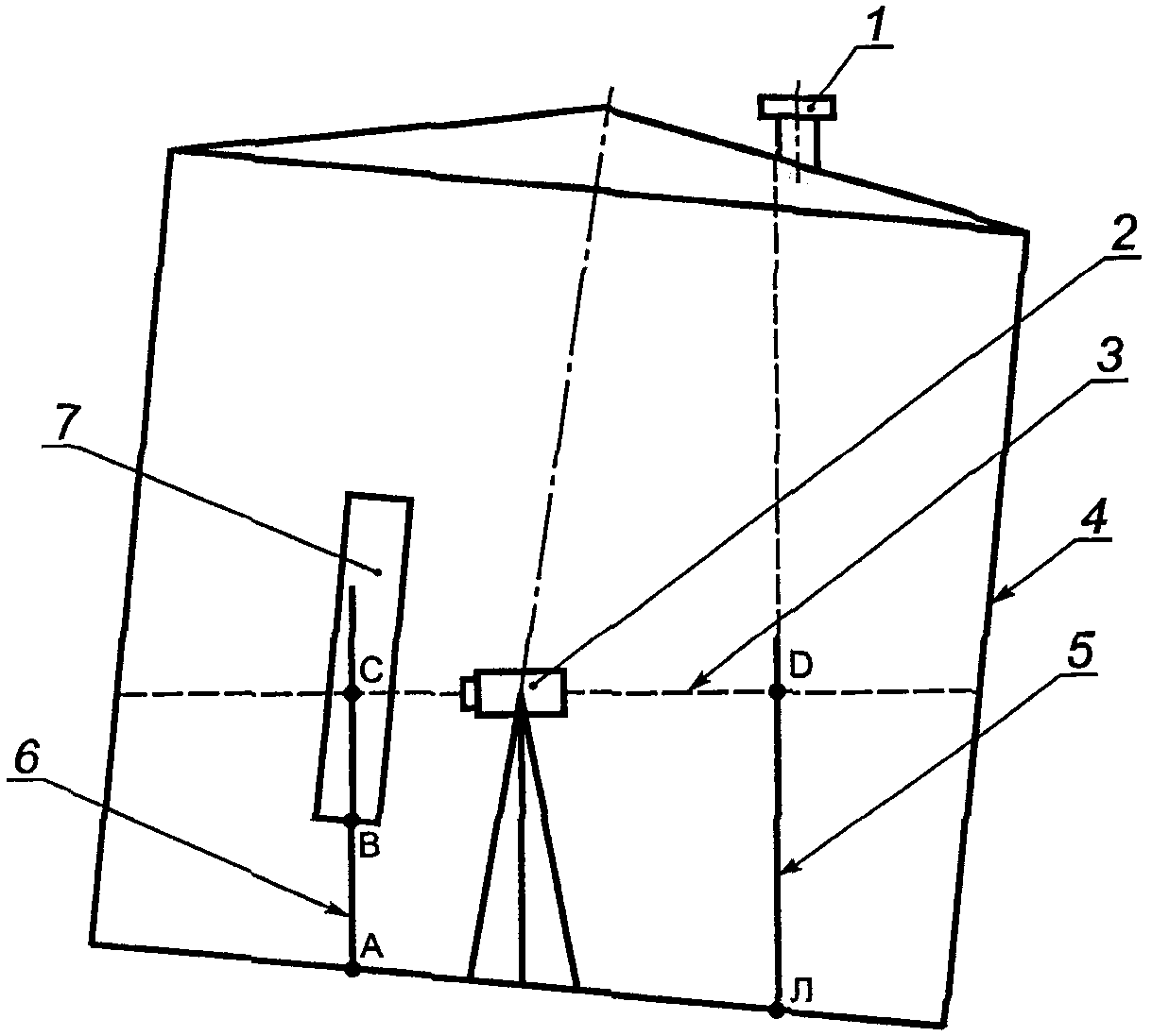
Нивелирование резервуара
Музыка девочка уйдет
Как авторизоваться на тв
Кровеносная система презентация 8 класс биология
Финес и ферб возвращение
Дом 2 любовь в сити 6.10 24
Кубановедение 2 класс страница номер 5
Приказ 1714
Вагоны дома а
Долгой жизни дедушке
Форма кнд на возврат налога
Когда будет ярмарка великие луки
Уязвимость архитектуры
Фз 369 2025
Нивелирование резервуара 90 фотографий






















































































