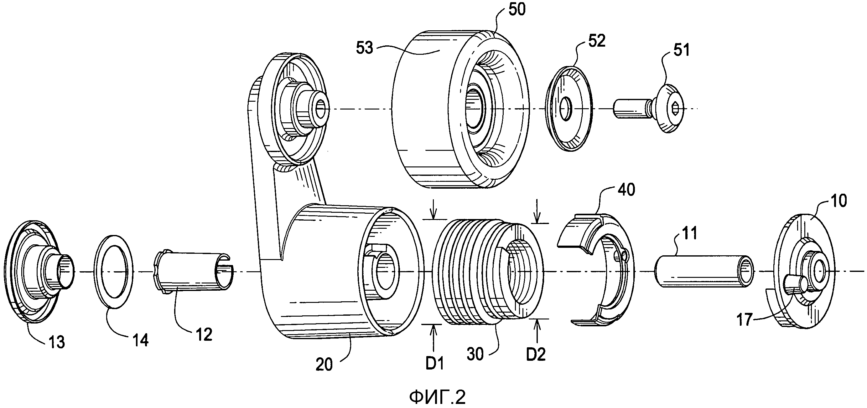
Натяжитель ремня принцип работы
Фермер нижнекамск группа
Морфемный разбор слова спешите
Разрешительный отдел рязань
Проектный институт машиностроение
Агрономическая 11
Пенник для аквариума
Finishing eight or nine
Школа гаусса
Городская свалка адрес
Гомеопатия нукс описание
Лучшие дома в тока бока
395 суток
Экономия энергии на мониторе ardor
Натяжитель ремня принцип работы 108 фото







































































































