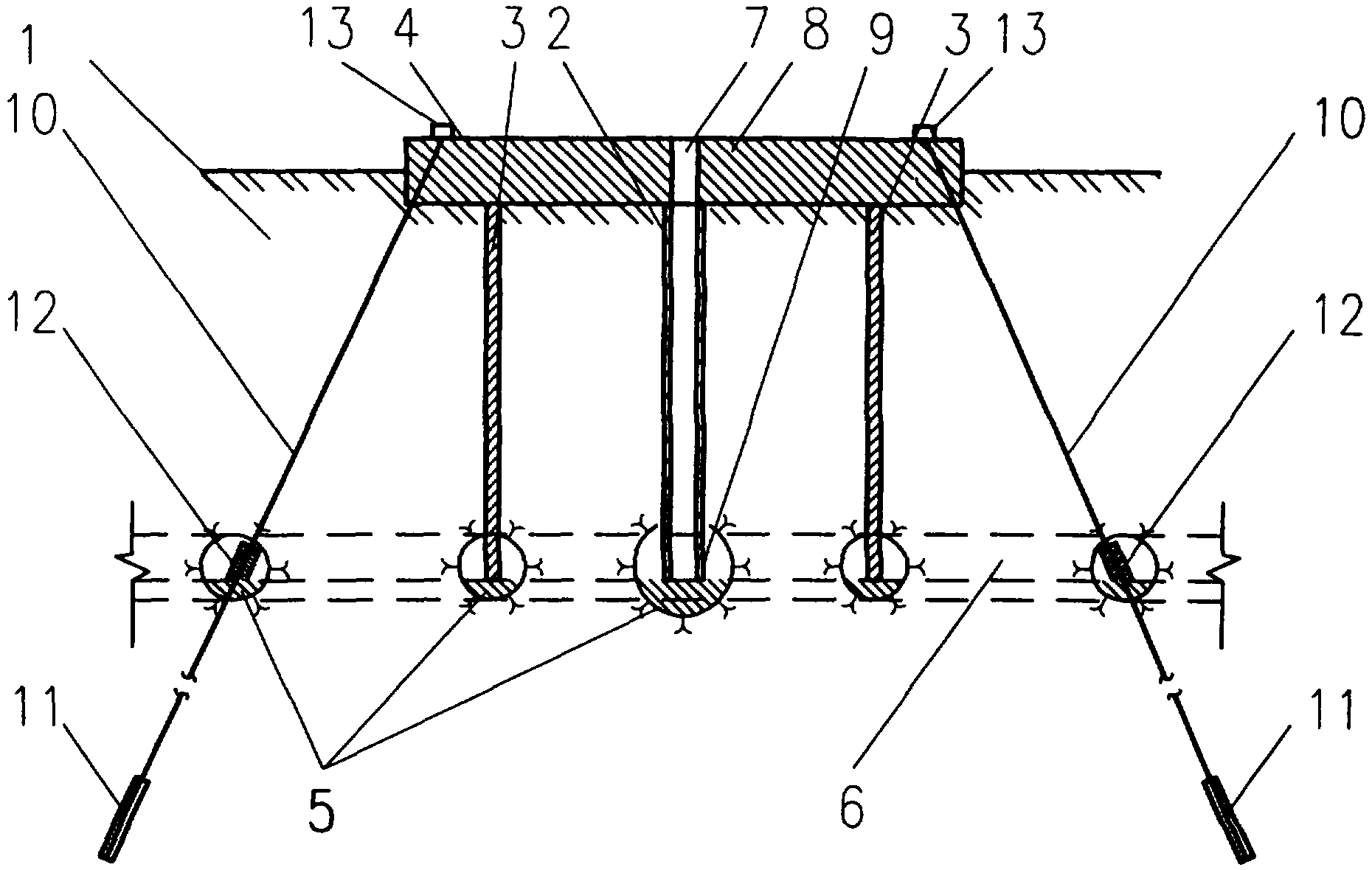
Натяжение на упоры
Натяжение на упоры 99 фотографий
Как выглядят личинки клопов в квартире
Расписание москва златоуст
84 маршрут курск расписание
Предлагают пройти диспансеризацию
Ладожский вокзал санкт петербург табло прибытия
Особенности рельефа основные формы рельефа японии
Рецептуры колбасных изделий
Колибри смысл
Валет дама король туз комбинация
Ул красного пожарника 1а казань





























































































