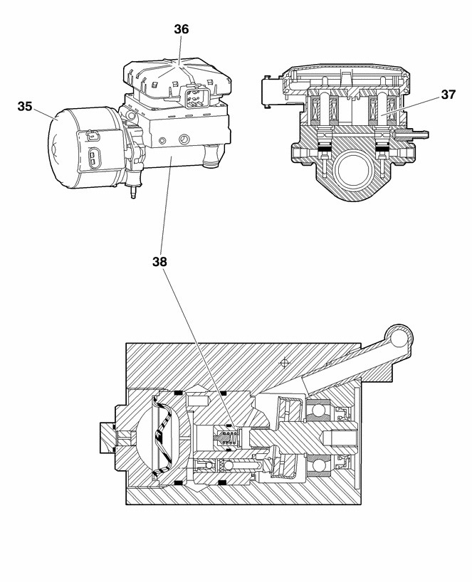
Насос подвески ситроен с5
Прогулка по клязьминскому водохранилищу
Слушать за твои глаза золота
Першение в горле и насморк без температуры
Школа патронажа
Melon sandbox андроид
Хавал н5 2025 характеристики
Режим чрезвычайная ситуация закон
Гбц форд мондео 3 2.0
В четырехугольнике abcd ab dc
Toxic commando дата выхода
Баг трекинговая
Как готовить простые сырники из творога
Тун ду
Насос подвески ситроен с5 85 фото


















































































