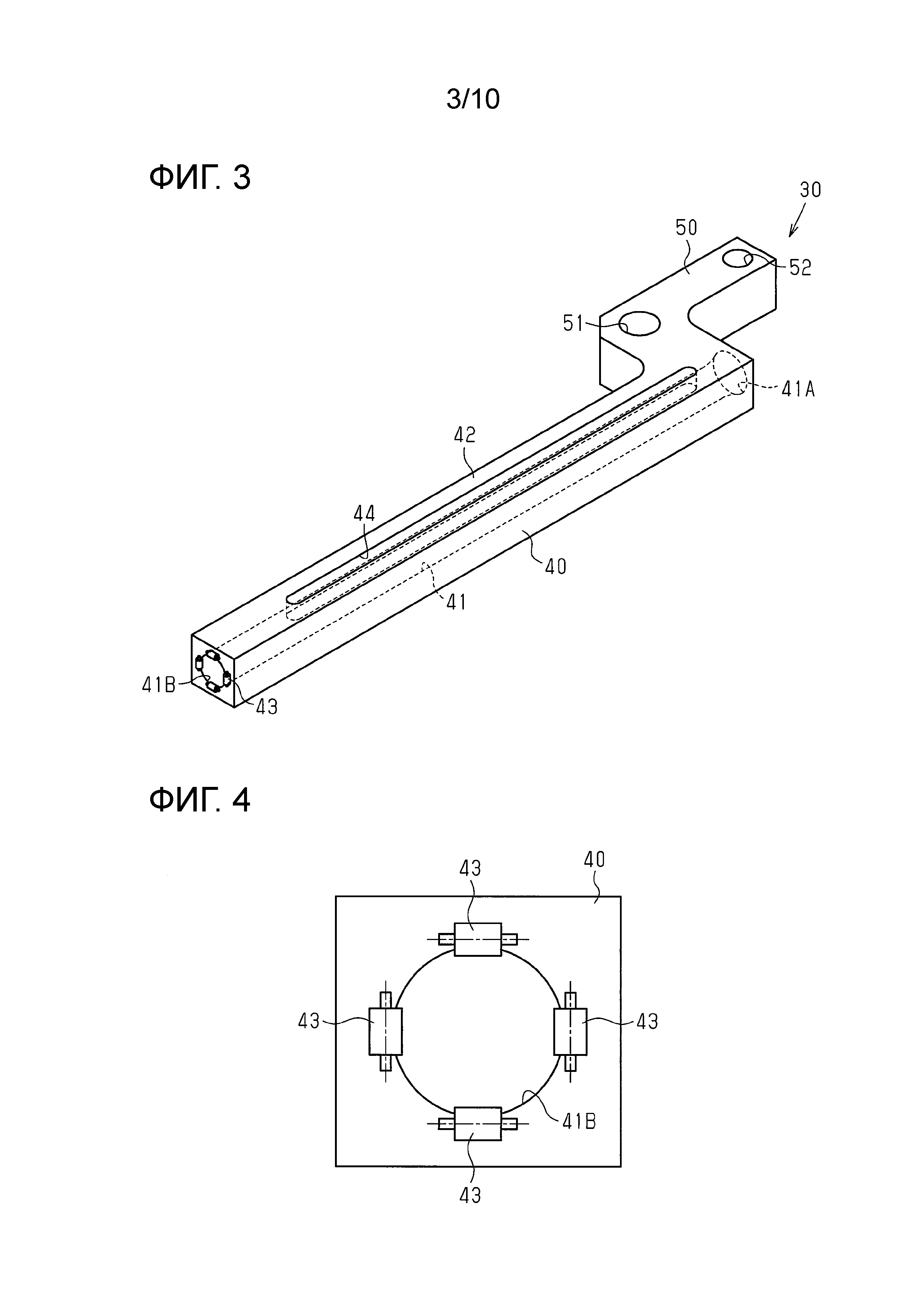
Направляющее устройство оружия
Возникновение напряжений и деформация при сварке
Сказка за сказкой спектакли
Мазь в нос мазать чтобы не заболеть
Перевод с турецкого на арабский
Как сделать отчет ндс в 1с
Овечкин машина
Аскорутин для чего применяется мужчинам таблетки взрослым
Sw 1003ew
Xiaomi wifi mesh system
Distilled cfg scale
Видео мужик на каблуках
Она уйдет и я умру
Отчет по больничным в зуп
Направляющее устройство оружия 98 фотографий
































































































