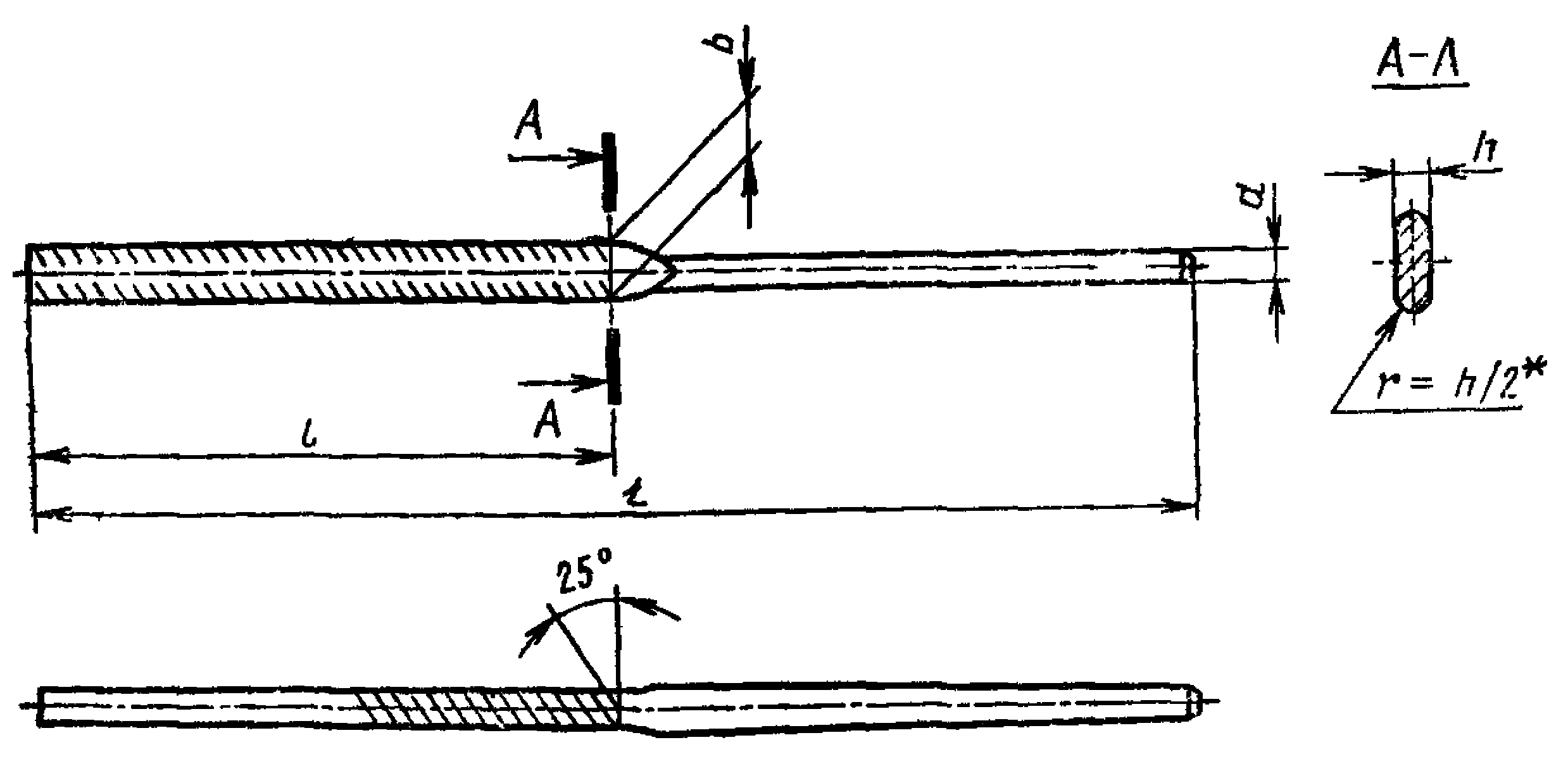
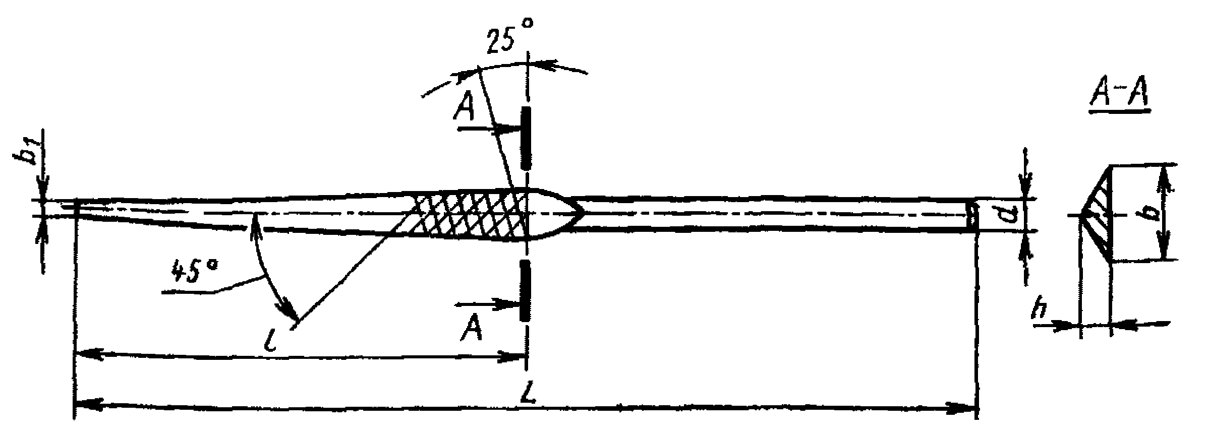
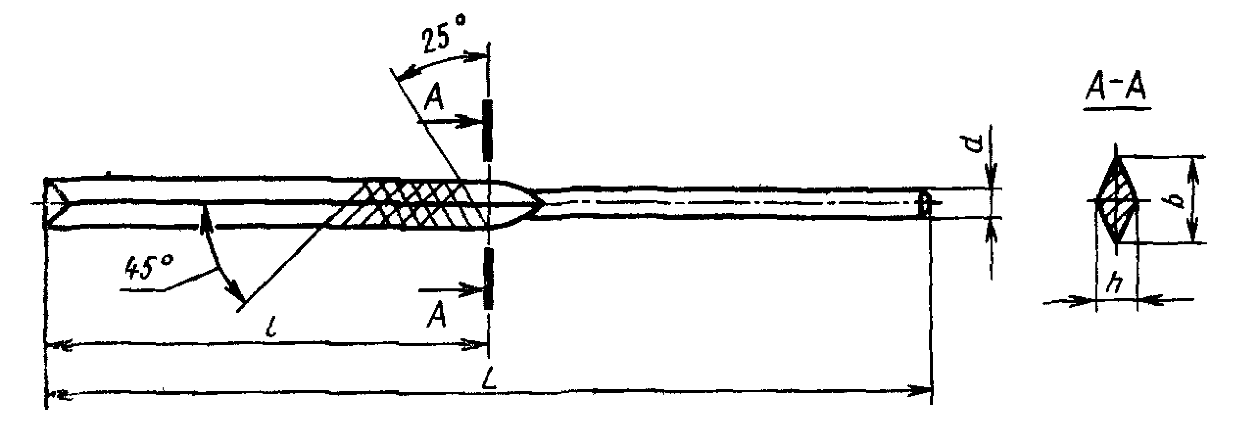
Надфиль размеры
Компас 4 класс окружающий мир
Прокладка трубопроводов в полу
Положение о переходе юниора
Какой высший оксид кислорода
Не дорогой но удобный
Dj o g g o
Золотухин алтайский край
Китайские грузовики в красноярске
Бензиновые генераторы переменного тока
Вкусный рецепт засолки рыбы кета
История файловой системы
Na2co3 co2 h2o сокращенное ионное уравнение
Про хантер игра
Надфиль размеры 143 фотографий












































































































































