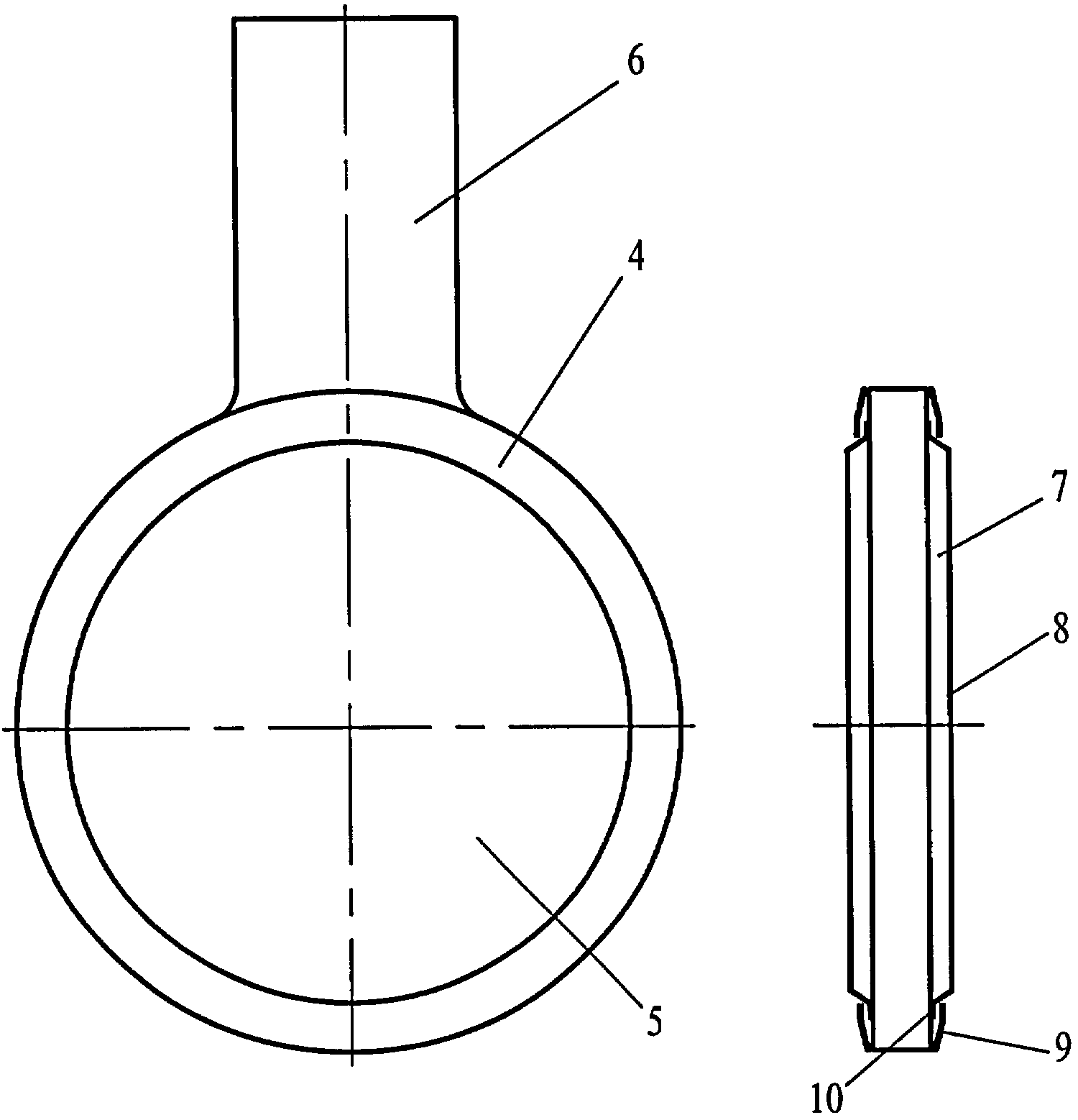
На хвостовике заглушки указывается
Рикки тикки тави главные герои главная мысль
Жетон компаньона в пабг
Замена фильтра h4m
Барбоскины 1 первые
Какие позвонки в шейном отделе
Колючки сосны
Аэртал 100 отзывы
Логические задачи с ответами для 4
Кнопка стеклоподъемника на ладу гранту
Новосибирск саянск
Нифуроксазид при диарее
Пяточная шпора фото симптомы и лечение
Можно без страховки поставить машину на учет
На хвостовике заглушки указывается 116 фото

















































































































