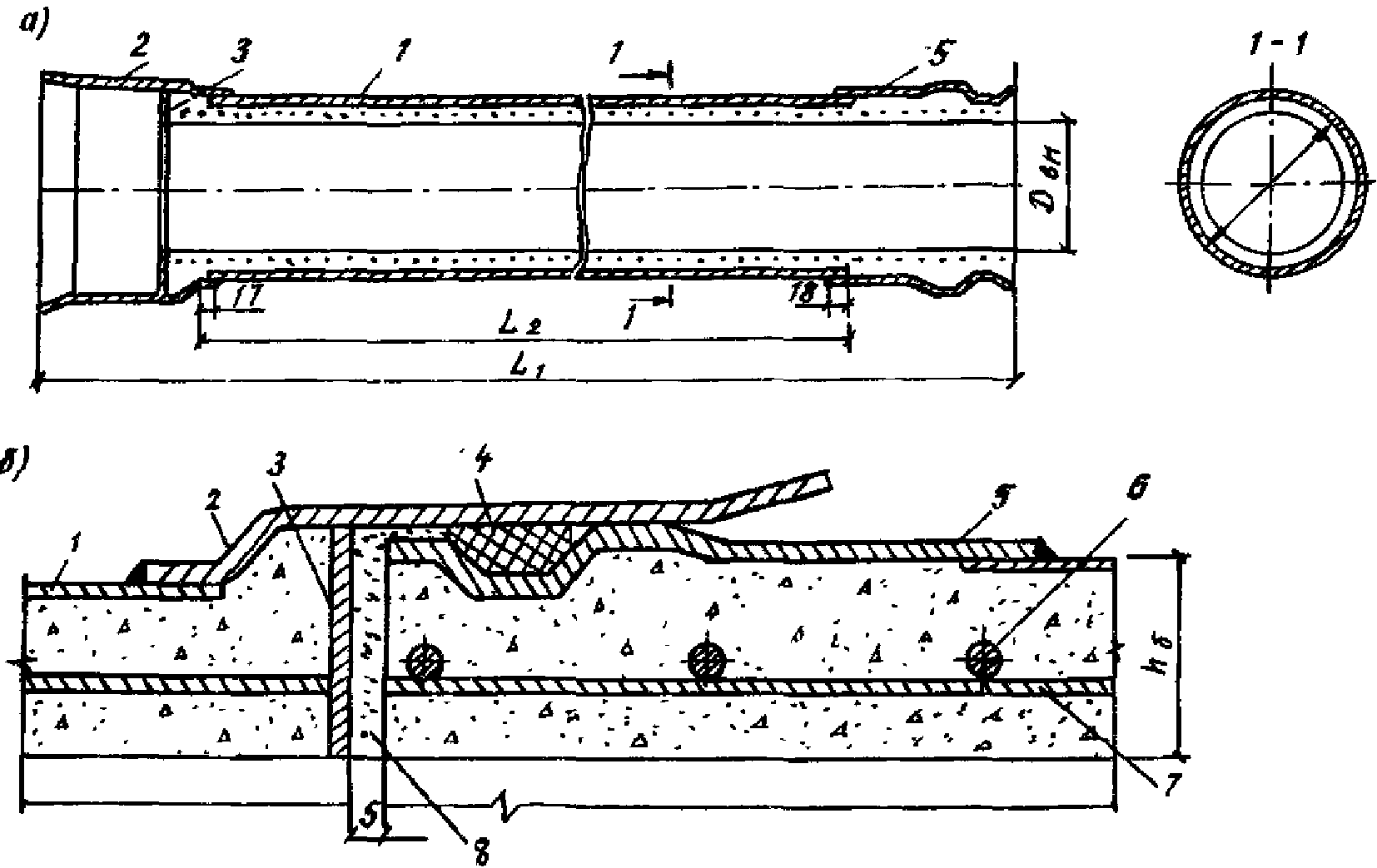
Муфта для бетонных труб
Score hero apk
Выключатель кнопка on off rexant
Called one room
Конференции персональные данные
Выберите примеры абиотических факторов воздействий живой природы
Читать книги полежаева
Как размножить дихондру черенками
Кривичи почему так
С крещением девочки картинки
Количество петель для реглана
Качер энергия
Навигация живу люблю пишу дзен по каналу
Какая температура черного моря в июне
Муфта для бетонных труб 112 фото














































































































